Гелиевый клапан в часах, как им пользоваться? - Часовой форум Watch.ru
 
Вернуться назад   Часовой форум Watch.ru > Швейцарские часы > Omega
Регистрация | Забыли пароль?

Omega

Форум о часах Omega.
Ответ
 
Опции темы
  #1  
Старый 07.11.2017, 09:29
isaev 1967 isaev 1967 вне форума  
Форумчанин
 
Регистрация: 05.06.2013
Адрес: Россия
Сообщений: 201
Сказал(а) спасибо: 918
Поблагодарили 710 раз(а) в 91 сообщениях
Гелиевый клапан в часах, как им пользоваться?

Уважаемые Омегаводы расскажите пожалуйста как им пользоваться. На моих симастерах даже не вращается.
Ответить с цитированием
  #2  
Старый 07.11.2017, 09:57
дюрбахлер дюрбахлер вне форума  
Временно заблокирован | Temporarily blocked
 
Регистрация: 20.05.2009
Адрес: Краснодар-Витебск
Сообщений: 2,211
Сказал(а) спасибо: 21,021
Поблагодарили 43,467 раз(а) в 13,906 сообщениях
Им никак не нужно пользоваться. Чисто теоретически, если Вас запихнуть в кессон на недельку, то под воздействием давления гелий, имея малый размер молекулы, пролезет внутрь часов и чисто теоретически создаст там давление выше атмосферного. После того, как Вас чисто теоретически вынут из кессона на свет Божий, гелиевый клапан чисто теоретически выпустит гелий и не даст часам взорваться. Все чисто теоретически, так как вряд ли Вы попадете в такую ситуацию.
Есть и другие версии))

Цитата:
Сообщение от mirag80 Посмотреть сообщение
Доброго времени суток,господа.В моей Omega Planet Ocean Chrono есть гелиевый клапан. Продавец сказал,что это на случай нехватки воздуха на глубине,и для экстренного всплытия можно воспользоватся запасом из часов.Конечно,заныривать так глубоко я не собираюсь,но все равно интересно.
Ответить с цитированием
Эти 12 пользователей сказали Спасибо! дюрбахлер за это сообщение:
alexandr nevskiy (19.11.2017), andreydikman (03.05.2024), Denis.A. (18.08.2019), Dolgorukii (07.11.2017), isaev 1967 (07.11.2017), MegaZur (07.11.2017), mhasman (21.11.2017), mineral (07.11.2017), Pernikof (20.11.2017), pshalnev (05.05.2019), Tagir80 (24.04.2019), Yogan (21.04.2019)
  #3  
Старый 07.11.2017, 10:22
Moorim Moorim вне форума  
Форумчанин
 
Регистрация: 22.06.2017
Адрес: Киев
Сообщений: 100
Сказал(а) спасибо: 25
Поблагодарили 74 раз(а) в 40 сообщениях
Многие свято считают, что гелевый клапан для "закачки гелия в часы при погружении" )
В действительности же уважаемый дюрбахлер все детально изложил. Забавная "опция" для полноты образа "дайверских" часов, которая в реальной жизни уже давно не применяется даже теоретически. Если уж предположить, что кто-то в таких часах погружается на десятки метров на длительное время
__________________
B&M Classima Executives 8462 | Omega Seamaster PO 45,5
Ответить с цитированием
Этот пользователь сказал Спасибо! Moorim за это сообщение:
isaev 1967 (07.11.2017)
  #4  
Старый 07.11.2017, 13:49
Аватар для MegaZur
MegaZur MegaZur вне форума  
Форумчанин
 
Регистрация: 11.04.2014
Адрес: Санкт-Петербург
Сообщений: 5,440
Сказал(а) спасибо: 6,385
Поблагодарили 8,947 раз(а) в 2,705 сообщениях
Можно копнуть еще глубже - гелиевый клапан бывает автоматический и ручной. На планете - ручной. То есть при погружении Вы должны его плотно закрутить, находясь в барокамере неважно в каком он будет положении, а вот перед выходом из барокамеры - его непременно надо открутить, чтоб избыточный гелий (просочившийся через металл корпуса и прокладки которые держат 60 атмостфер ) не разорвал Ваши часы в клочья
Автоматический же клапан, например как на таге акварейсере , крутить не надо, он сам когда надо гелий выпускает. Но это не ТРУклапан канешно, никакого удовольствия от сопричастности к таинству выпускания гелия из часов пользователь в этом случае не получает ...
__________________
Монтана 16 мелодий
Ответить с цитированием
Эти 4 пользователей сказали Спасибо! MegaZur за это сообщение:
andreydikman (03.05.2024), Dolgorukii (07.11.2017), isaev 1967 (08.11.2017), дюрбахлер (07.11.2017)
  #5  
Старый 08.11.2017, 00:03
Аватар для olfagp
olfagp olfagp вне форума  
Форумчанин
 
Регистрация: 17.01.2013
Адрес: Юг
Сообщений: 5,818
Сказал(а) спасибо: 1,792
Поблагодарили 5,135 раз(а) в 2,250 сообщениях
Версия продавца, конечно, — конфетка!
Клапан, кстати, очень красиво смотрится. Но, наверное, в жизни им не пользуются.
Ответить с цитированием
Эти 2 пользователей сказали Спасибо! olfagp за это сообщение:
isaev 1967 (08.11.2017), дюрбахлер (08.11.2017)
  #6  
Старый 08.11.2017, 11:01
Аватар для uscoff
uscoff uscoff вне форума  
Форумчанин
 
Регистрация: 24.12.2010
Адрес: Россия, Москва
Сообщений: 326
Сказал(а) спасибо: 393
Поблагодарили 427 раз(а) в 167 сообщениях
Я даже подозреваю, что никакой это не клапан, а просто прикрутили к часам декоративную хреновинку, зная, что никто и никогда не проверит этот "клапан" на пропускание гелия и непропускание воды.
__________________
Ответить с цитированием
Этот пользователь сказал Спасибо! uscoff за это сообщение:
alexandr nevskiy (19.11.2017)
  #7  
Старый 08.11.2017, 11:05
дюрбахлер дюрбахлер вне форума  
Временно заблокирован | Temporarily blocked
 
Регистрация: 20.05.2009
Адрес: Краснодар-Витебск
Сообщений: 2,211
Сказал(а) спасибо: 21,021
Поблагодарили 43,467 раз(а) в 13,906 сообщениях
Цитата:
Сообщение от uscoff Посмотреть сообщение
зная, что никто и никогда не проверит этот "клапан" на пропускание гелия и непропускание воды.
Конкуренты могут и проверить...
Ответить с цитированием
  #8  
Старый 08.11.2017, 12:41
Аватар для uscoff
uscoff uscoff вне форума  
Форумчанин
 
Регистрация: 24.12.2010
Адрес: Россия, Москва
Сообщений: 326
Сказал(а) спасибо: 393
Поблагодарили 427 раз(а) в 167 сообщениях
Цитата:
Сообщение от дюрбахлер Посмотреть сообщение
Конкуренты могут и проверить...
А есть ли конкуренты? Одна банда работает! Используя наше нездоровое состояние, втюхивают нам бесполезные приблуды за великие тыщщи. Нашего ФАСа на них не хватает.
__________________
Ответить с цитированием
Эти 3 пользователей сказали Спасибо! uscoff за это сообщение:
alexandr nevskiy (19.11.2017), nbw74 (07.01.2019), zvs77 (09.11.2017)
  #9  
Старый 08.11.2017, 12:47
дюрбахлер дюрбахлер вне форума  
Временно заблокирован | Temporarily blocked
 
Регистрация: 20.05.2009
Адрес: Краснодар-Витебск
Сообщений: 2,211
Сказал(а) спасибо: 21,021
Поблагодарили 43,467 раз(а) в 13,906 сообщениях
Нееее. Есть конкуренты
Ответить с цитированием
  #10  
Старый 08.11.2017, 14:42
DimitrijN DimitrijN вне форума  
Форумчанин
 
Регистрация: 30.03.2015
Адрес: Россия, Москва
Сообщений: 1,137
Сказал(а) спасибо: 2,423
Поблагодарили 2,851 раз(а) в 602 сообщениях
Уважаемые софорумчане допустили несколько ошибок в отношении правил использования клапана, по крайней мере в отношении СМП 300. Что и неудивительно, декомпрессия невостребованна.
Заметил благодаря тому, что недавно изучал инструкцию от своей обновки.

Привожу выдержку из инструкции СМП 300, на всякий случай, вдруг кто занырнет всё-таки, декомпрессия потребуется

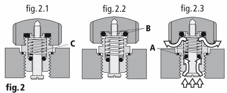
Цитата:
В нормальном положении (рис. 2.1) гелиевый клапан OMEGA обеспечивает полную герметичность корпуса часов, благодаря прокладкам (В), но не используется для выпуска гелия, так как головка находится в завинченном положении.

В период декомпрессии отвинтите головку клапана, чтобы освободить его механизм (рис. 2.2). При этом клапан сохраняет водонепроницаемость. По мере того, как внутреннее давление становится больше внешнего, прокладка (А) под давлением смещается, выпуская газ (рис. 2.3). Когда внешнее и внутреннее давления становятся равными, прокладка (А) под действием пружины (С) занимает первоначальное положение (рис. 2.2).

Этот процесс повторяется автоматически несколько раз в течение фазы декомпрессии. По достижении уровня атмосферного давления завинтите головку клапана (рис. 2.1).

Примечание: настоятельно рекомендуется держать головку клапана завинченной при каждом погружении часов в воду. Однако, даже если головка клапана не завинчена, часы остаются водонепроницаемыми при относительном давлении до 5 бар (50 метров). Тем не менее, полная водонепроницаемость часов вплоть до глубины циферблата может быть обеспечена только в том случае, если головка клапана и прокладка (В) находятся в завинченном состоянии.
Так что лучше вообще не раскручивать, целее будут

Нажмите на изображение для увеличения
Название: гелиевый клапан SMP 300.JPG
Просмотров: 3509
Размер:	24.1 Кб
ID:	1991748
__________________
На оформлении.
Ответить с цитированием
Эти 11 пользователей сказали Спасибо! DimitrijN за это сообщение:
andreydikman (03.05.2024), Beck50 (19.11.2017), Darten (13.06.2018), Evoart (15.02.2019), fedornagan (14.03.2024), KepLeo (23.11.2017), Kuzma8246 (09.11.2017), mcmlxxii (21.04.2019), mhasman (21.11.2017), АлексМ (21.11.2017), дюрбахлер (08.11.2017)
Ответ


Быстрый переход

Похожие темы
Тема Автор Раздел Ответов Последнее сообщение
Гелиевый клапан Omega Seamaster Diver 300 M SaintP812 Omega 12 15.05.2020 14:47
Гелиевый клапан в Omega как определение подделки Harl Подделки часов, "копии часов" 12 02.06.2015 01:00
Про гелиевый клапан в часах gorax Общий раздел 31 23.09.2014 21:18
Гелиевый клапан mirag80 Общий раздел 61 11.01.2014 15:10


Часовой пояс UTC +3, время: 06:54.