Часовой форум Watch.ru (http://forum.watch.ru/index.php)
-   Omega (http://forum.watch.ru/forumdisplay.php?f=19)
-   -   Гелиевый клапан в часах, как им пользоваться? (http://forum.watch.ru/showthread.php?t=420435)

isaev 1967 07.11.2017 09:29

Гелиевый клапан в часах, как им пользоваться?
 
Уважаемые Омегаводы расскажите пожалуйста как им пользоваться. На моих симастерах даже не вращается.

дюрбахлер 07.11.2017 09:57

Им никак не нужно пользоваться. Чисто теоретически, если Вас запихнуть в кессон на недельку, то под воздействием давления гелий, имея малый размер молекулы, пролезет внутрь часов и чисто теоретически создаст там давление выше атмосферного. После того, как Вас чисто теоретически вынут из кессона на свет Божий, гелиевый клапан чисто теоретически выпустит гелий и не даст часам взорваться. Все чисто теоретически, так как вряд ли Вы попадете в такую ситуацию.
Есть и другие версии))

Цитата:

Сообщение от mirag80 (Сообщение 14576)
Доброго времени суток,господа.В моей Omega Planet Ocean Chrono есть гелиевый клапан. Продавец сказал,что это на случай нехватки воздуха на глубине,и для экстренного всплытия можно воспользоватся запасом из часов.Конечно,заныривать так глубоко я не собираюсь,но все равно интересно.


Moorim 07.11.2017 10:22

Многие свято считают, что гелевый клапан для "закачки гелия в часы при погружении" :))
В действительности же уважаемый дюрбахлер все детально изложил. Забавная "опция" для полноты образа "дайверских" часов, которая в реальной жизни уже давно не применяется даже теоретически. Если уж предположить, что кто-то в таких часах погружается на десятки метров на длительное время

MegaZur 07.11.2017 13:49

Можно копнуть еще глубже - гелиевый клапан бывает автоматический и ручной. На планете - ручной. То есть при погружении Вы должны его плотно закрутить, находясь в барокамере неважно в каком он будет положении, а вот перед выходом из барокамеры - его непременно надо открутить, чтоб избыточный гелий (просочившийся через металл корпуса и прокладки которые держат 60 атмостфер :) ) не разорвал Ваши часы в клочья :D
Автоматический же клапан, например как на таге акварейсере , крутить не надо, он сам когда надо гелий выпускает. Но это не ТРУклапан канешно, никакого удовольствия от сопричастности к таинству выпускания гелия из часов пользователь в этом случае не получает ...

olfagp 08.11.2017 00:03

Версия продавца, конечно, — конфетка! :D
Клапан, кстати, очень красиво смотрится. Но, наверное, в жизни им не пользуются.

uscoff 08.11.2017 11:01

Я даже подозреваю, что никакой это не клапан, а просто прикрутили к часам декоративную хреновинку, зная, что никто и никогда не проверит этот "клапан" на пропускание гелия и непропускание воды.

дюрбахлер 08.11.2017 11:05

Цитата:

Сообщение от uscoff (Сообщение 4569228)
зная, что никто и никогда не проверит этот "клапан" на пропускание гелия и непропускание воды.

Конкуренты могут и проверить...

uscoff 08.11.2017 12:41

Цитата:

Сообщение от дюрбахлер (Сообщение 4569236)
Конкуренты могут и проверить...

А есть ли конкуренты? Одна банда работает! Используя наше нездоровое состояние, втюхивают нам бесполезные приблуды за великие тыщщи. Нашего ФАСа на них не хватает.

дюрбахлер 08.11.2017 12:47

Нееее. Есть конкуренты

DimitrijN 08.11.2017 14:42

Вложений: 1
Уважаемые софорумчане допустили несколько ошибок в отношении правил использования клапана, по крайней мере в отношении СМП 300. Что и неудивительно, декомпрессия невостребованна.
Заметил благодаря тому, что недавно изучал инструкцию от своей обновки.

Привожу выдержку из инструкции СМП 300, на всякий случай, вдруг кто занырнет всё-таки, декомпрессия потребуется:rolleyes:

Цитата:

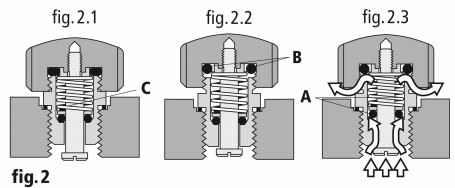
В нормальном положении (рис. 2.1) гелиевый клапан OMEGA обеспечивает полную герметичность корпуса часов, благодаря прокладкам (В), но не используется для выпуска гелия, так как головка находится в завинченном положении.
http://forum.watch.ru/attachment.php...8&d=1510141232
В период декомпрессии отвинтите головку клапана, чтобы освободить его механизм (рис. 2.2). При этом клапан сохраняет водонепроницаемость. По мере того, как внутреннее давление становится больше внешнего, прокладка (А) под давлением смещается, выпуская газ (рис. 2.3). Когда внешнее и внутреннее давления становятся равными, прокладка (А) под действием пружины (С) занимает первоначальное положение (рис. 2.2).

Этот процесс повторяется автоматически несколько раз в течение фазы декомпрессии. По достижении уровня атмосферного давления завинтите головку клапана (рис. 2.1).

Примечание: настоятельно рекомендуется держать головку клапана завинченной при каждом погружении часов в воду. Однако, даже если головка клапана не завинчена, часы остаются водонепроницаемыми при относительном давлении до 5 бар (50 метров). Тем не менее, полная водонепроницаемость часов вплоть до глубины циферблата может быть обеспечена только в том случае, если головка клапана и прокладка (В) находятся в завинченном состоянии.
Так что лучше вообще не раскручивать, целее будут;)

Вложение 1991748


Часовой пояс UTC +3, время: 21:17.

© 1998–2024 Watch.ru