Часовой инструмент - Страница 4 - Часовой форум Watch.ru
 
Вернуться назад   Часовой форум Watch.ru > Ремонт часов, обслуживание часов > Ремонт часов и обслуживание
Регистрация | Забыли пароль?

Ремонт часов и обслуживание

Всё о ремонте часов и обслуживании часов, часовое оборудование.
Ответ
 
Опции темы
  #31  
Старый 17.02.2015, 12:18
Аватар для Андрей Крукович
Андрей Крукович Андрей Крукович вне форума  
Moderator
 
Регистрация: 07.04.2006
Адрес: Петропавловск-Камчатский
Сообщений: 9,926
Сказал(а) спасибо: 2,474
Поблагодарили 7,328 раз(а) в 3,652 сообщениях
Цитата:
Сообщение от neva Посмотреть сообщение
По фото видно,чт отверстие не по центру - так должно быть?
Для потансов с регулируемым частично нитбанком (как у avkmedved), это способ точной центровки. У меня есть подобного типа потанс , там смещено еще сильней. Я правда этим набором не пользуюсь, держу только из-за пуансонов.

Для советского типа потанса, этот способ не подойдет. Наверно не подойдет, никогда не задумывался об этом.
Ответить с цитированием
Эти 2 пользователей сказали Спасибо! Андрей Крукович за это сообщение:
avkmedved (19.02.2015), neva (17.02.2015)
  #32  
Старый 19.02.2015, 00:26
avkmedved avkmedved вне форума  
Новичок
 
Регистрация: 18.12.2013
Адрес: Украина Киев
Сообщений: 44
Сказал(а) спасибо: 40
Поблагодарили 29 раз(а) в 15 сообщениях
Спасибо Душан Грујић фото рассмотрел и суть понял.

------- ДОБАВЛЕНО ЧЕРЕЗ 13 МИН --------

Спасибо за ссылку Андрей, это он и есть только штатная втулка снята на момент съемки, а стоит выточенная и там действительно смещение меньше.
Ответить с цитированием
  #33  
Старый 19.02.2015, 02:57
Аватар для Андрей Крукович
Андрей Крукович Андрей Крукович вне форума  
Moderator
 
Регистрация: 07.04.2006
Адрес: Петропавловск-Камчатский
Сообщений: 9,926
Сказал(а) спасибо: 2,474
Поблагодарили 7,328 раз(а) в 3,652 сообщениях
Цитата:
Сообщение от avkmedved Посмотреть сообщение
у меня вопрос по потансу для камней, он рычажного типа но с микрометрической регулировкой. На сколько точна посадка в отличии от прямой подачи микрометрическим винтом ? Ось плоскости вращения рычага и точка надавливания на шток пуансона целых два места которые боятся малейшего люфта или работает отлично и я ошибаюсь ?
Понятны ваши опасения и они вполне справедливы. Но сдвигая на 1-2 мм шток 8 мм в диаметре и длиной 60 мм, смещение настолько ничтожно, что в данном случае можно не принимать в расчет.


Другое дело, это кто как привык. Мне удобней винтовой потанс. Если делал бы с "нуля", то делал бы именно такой. Если нужны фото, то разберу и сфотографирую.
Ответить с цитированием
Этот пользователь сказал Спасибо! Андрей Крукович за это сообщение:
avkmedved (19.02.2015)
  #34  
Старый 19.02.2015, 05:03
Аватар для Андрей Крукович
Андрей Крукович Андрей Крукович вне форума  
Moderator
 
Регистрация: 07.04.2006
Адрес: Петропавловск-Камчатский
Сообщений: 9,926
Сказал(а) спасибо: 2,474
Поблагодарили 7,328 раз(а) в 3,652 сообщениях
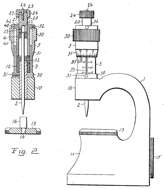
Вот интересная конструкция потанса, под стандартные пуансоны ссылка
Миниатюры
Нажмите на изображение для увеличения
Название: 11.jpg
Просмотров: 446
Размер:	57.8 Кб
ID:	924741  
Ответить с цитированием
Эти 2 пользователей сказали Спасибо! Андрей Крукович за это сообщение:
avkmedved (19.02.2015), Slepoy (19.02.2015)
  #35  
Старый 19.02.2015, 07:35
Аватар для VladimirKireev
VladimirKireev VladimirKireev вне форума  
Форумчанин
 
Регистрация: 17.04.2014
Адрес: Россия Омск
Сообщений: 875
Сказал(а) спасибо: 1,096
Поблагодарили 1,062 раз(а) в 417 сообщениях
А если делать "-с нуля" из советского микрометра. Какие детали там надо переделывать ?
Ответить с цитированием
  #36  
Старый 19.02.2015, 07:49
Аватар для Андрей Крукович
Андрей Крукович Андрей Крукович вне форума  
Moderator
 
Регистрация: 07.04.2006
Адрес: Петропавловск-Камчатский
Сообщений: 9,926
Сказал(а) спасибо: 2,474
Поблагодарили 7,328 раз(а) в 3,652 сообщениях
Цитата:
Сообщение от VladimirKireev Посмотреть сообщение
А если делать "-с нуля" из советского микрометра. Какие детали там надо переделывать ?
Если по простому, то только просверлить отверстия в штоках.
Но у микрометра шток крутится, тогда как у часового потанса нет. Может это и не так принципиально, вот этого не знаю.
Ответить с цитированием
  #37  
Старый 19.02.2015, 08:10
Аватар для VladimirKireev
VladimirKireev VladimirKireev вне форума  
Форумчанин
 
Регистрация: 17.04.2014
Адрес: Россия Омск
Сообщений: 875
Сказал(а) спасибо: 1,096
Поблагодарили 1,062 раз(а) в 417 сообщениях
Ко мне едет потанс и пуансоны а вот на потанс для передвижки камней пока нет финансов есть пара микрометров 0-25 мм хочется по сиротству сделать замену.Есть несколько 2609 на 16 камнях и у всех одинаковая проблема центральный камень в платине сдвинут.
Ответить с цитированием
  #38  
Старый 19.02.2015, 08:34
Аватар для Андрей Крукович
Андрей Крукович Андрей Крукович вне форума  
Moderator
 
Регистрация: 07.04.2006
Адрес: Петропавловск-Камчатский
Сообщений: 9,926
Сказал(а) спасибо: 2,474
Поблагодарили 7,328 раз(а) в 3,652 сообщениях
Цитата:
Сообщение от VladimirKireev Посмотреть сообщение
у всех одинаковая проблема центральный камень в платине сдвинут.
Тогда можно еще проще - просто обточить штоки, до нужных диаметров.
Ответить с цитированием
  #39  
Старый 19.02.2015, 08:50
Аватар для VladimirKireev
VladimirKireev VladimirKireev вне форума  
Форумчанин
 
Регистрация: 17.04.2014
Адрес: Россия Омск
Сообщений: 875
Сказал(а) спасибо: 1,096
Поблагодарили 1,062 раз(а) в 417 сообщениях
Спасибо большое ,в теме Изготовление одного инструмента нашёл два варианта Kuznec и mishinmaster хвастались.
Ответить с цитированием
  #40  
Старый 19.02.2015, 13:42
avkmedved avkmedved вне форума  
Новичок
 
Регистрация: 18.12.2013
Адрес: Украина Киев
Сообщений: 44
Сказал(а) спасибо: 40
Поблагодарили 29 раз(а) в 15 сообщениях
Добрый день. Нашему токарю был заказан потанс из микрометра, только 0-25 не подходит, идея была действительно в просверливании отверстия и верхнего штока и нижнего жесткого насквозь если вращение *плохо* то в верхний шток еще один, а 0-25 не подходит из за малого рабочего расстояния вы не вставите даже пуансоны в полностью разведенный микрометр.
Ответить с цитированием
Ответ


Быстрый переход


Часовой пояс UTC +3, время: 21:22.