Да, хорошая тема получилась.
Здесь нагрузка большая и если припаять мягким припоем, может и не выдержать. А может сорвется через неделю или во время завода.
Лучше и легче колесо заменить, все таки это Янтарь.
Если говорим о возможности отремонтировать колесо в отсутствии токарного станка...
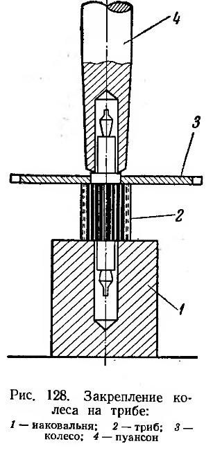
1. Можно запрессовать колесо как оно есть сейчас. Не смотря на то, что отверстие расширилось. Это будет возможно если триб не очень твердо закален, а я думаю что это в Янтаре исполнено. Знаю, что важное условие чтоб полотно надевалось туго на триб не исполнено, но делал так и получалось. Будет нужно сделать пуансон. Может у автора найдется знакомый токарь? Пуансон нужно закалить, так как он должен быть более твердым чем триб.

Как крайняя мера, возможно расклепать зубья триба по отдельности, одно за одним, при помощи подходящего пуансона.
2. Все таки возможно припаять мягким припоем, но нужно поставить шпонку, как уже предложил ув. Дмитрий. Можно просверлить отверстие примерно 1.5мм касающееся отверстием полотна и связать их. Потом запрессовать туда стальной штифт, так что не торчал и не мешал. Колесо нужно припаять прилагая на полотно усилие в такую сторону, как на него воздействует барабан в рабочем состоянии. Паяние - дело деликатное! Нужно паять так, чтоб припой хорошо облудил триб в месте пайки, но не попал глубоко между зубьями триба, т.к. будет трудно его от туда удалить. Как правило - хорошая пайка выглядит хорошо!
Это не есть руководство как правильно сделать, а мое собственное представление как возможно сделать!!!