Пара механизмов. - Часовой форум Watch.ru
 
Вернуться назад   Часовой форум Watch.ru > Все о часах и про часы > Что за часы? Сколько стоят эти часы?
Регистрация | Забыли пароль?

Что за часы? Сколько стоят эти часы?

У вас есть часы, но вы не знаете модель или производителя, или нужна помощь в оценке. Не забывайте размещать качественные фотографии.
Ответ
 
Опции темы
  #1  
Старый 24.02.2020, 09:32
unklnown unklnown вне форума  
Форумчанин
 
Регистрация: 21.07.2019
Адрес: Москва Россия
Сообщений: 1,497
Сказал(а) спасибо: 157
Поблагодарили 1,722 раз(а) в 702 сообщениях
Пара механизмов.

Здравствуйте, люди добрые.
Вновь я со своими глупостями, дабы ума поднабраться. Помогите с идентификацией почти близнецов.
Внешне практически одинаковые, но тот, что слева - с поддавкой, а справа - обычный вытяжной перевод стрелок.
Копал на Ранффте по адвансу, но увы... А может просто пропустил.
Заранее благодарен.
Пы.Сы. Диаметр - 23,3.
Миниатюры
Нажмите на изображение для увеличения
Название: IMG_20200224_091709_909.jpg
Просмотров: 209
Размер:	300.3 Кб
ID:	2880018   Нажмите на изображение для увеличения
Название: IMG_20200224_091425_1CS.jpg
Просмотров: 167
Размер:	480.7 Кб
ID:	2880019   Нажмите на изображение для увеличения
Название: IMG_20200224_091433_1CS.jpg
Просмотров: 118
Размер:	477.5 Кб
ID:	2880020  
__________________
Credo tibi sed dubito.
Ответить с цитированием
  #2  
Старый 24.02.2020, 11:03
lexei lexei вне форума  
Форумчанин
 
Регистрация: 10.01.2018
Адрес: Марс, каньон Ио
Сообщений: 5,926
Сказал(а) спасибо: 587
Поблагодарили 7,201 раз(а) в 3,083 сообщениях

ремонтуар может быть любым, исходя из пожеланий заказчика.
Ответить с цитированием
  #3  
Старый 24.02.2020, 15:06
unklnown unklnown вне форума  
Форумчанин
 
Регистрация: 21.07.2019
Адрес: Москва Россия
Сообщений: 1,497
Сказал(а) спасибо: 157
Поблагодарили 1,722 раз(а) в 702 сообщениях
lexei, спасибо. Это я видел. Похож, но он в 13 линий. А мои 10,5.
__________________
Credo tibi sed dubito.
Ответить с цитированием
  #4  
Старый 24.02.2020, 16:52
lexei lexei вне форума  
Форумчанин
 
Регистрация: 10.01.2018
Адрес: Марс, каньон Ио
Сообщений: 5,926
Сказал(а) спасибо: 587
Поблагодарили 7,201 раз(а) в 3,083 сообщениях
А что мешало FHF производить один и тот же механизм в разных типоразмерах? Ничего.

------- ДОБАВЛЕНО ЧЕРЕЗ 12 МИН --------

У шильда еще похожие есть. Тут бы время поточнее и ремонтуары глянуть. Если это период, когда производители начали сбиваться в Ebauches SA (шильд, фшф, этерна и еще два с лишним десятка ребят), то тут уже был колхоз и все не просто.
Ответить с цитированием
  #5  
Старый 24.02.2020, 18:08
unklnown unklnown вне форума  
Форумчанин
 
Регистрация: 21.07.2019
Адрес: Москва Россия
Сообщений: 1,497
Сказал(а) спасибо: 157
Поблагодарили 1,722 раз(а) в 702 сообщениях
Ну, ремонтуары-то вот они.
Может это действительно FHF... Черт его знает.
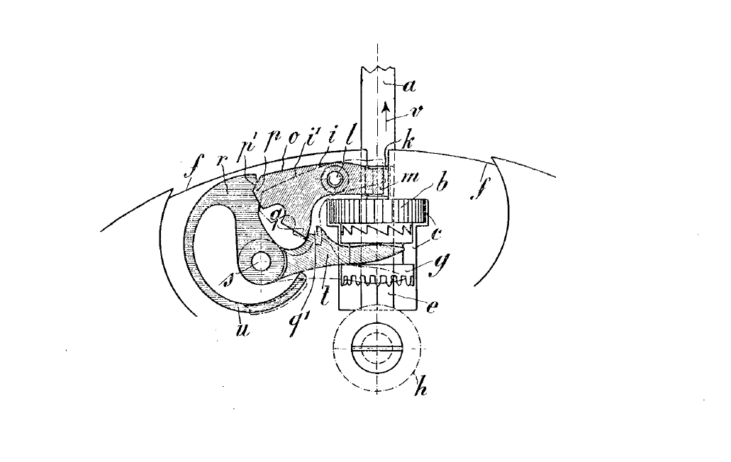
Патент 51482 на вытяжном.
Миниатюры
Нажмите на изображение для увеличения
Название: IMG_20200224_180025_073.jpg
Просмотров: 76
Размер:	512.0 Кб
ID:	2880441   Нажмите на изображение для увеличения
Название: IMG_20200224_175856_843.jpg
Просмотров: 56
Размер:	501.0 Кб
ID:	2880442   Нажмите на изображение для увеличения
Название: IMG_20200224_180146_668.jpg
Просмотров: 73
Размер:	422.3 Кб
ID:	2880443  
__________________
Credo tibi sed dubito.
Ответить с цитированием
  #6  
Старый 24.02.2020, 20:41
Аватар для ZOV
ZOV ZOV вне форума  
Форумчанин
 
Регистрация: 20.09.2009
Адрес: Россия, Архангельск
Сообщений: 8,170
Сказал(а) спасибо: 6,724
Поблагодарили 8,430 раз(а) в 4,864 сообщениях
Патент зарегистрирован за FHF в 1910.
Миниатюры
Нажмите на изображение для увеличения
Название: Аннотация 2020-02-24 203935.png
Просмотров: 78
Размер:	43.4 Кб
ID:	2880546  
__________________
Где время, там и часы... Или где часы, там и время?
Ответить с цитированием
  #7  
Старый 24.02.2020, 20:52
unklnown unklnown вне форума  
Форумчанин
 
Регистрация: 21.07.2019
Адрес: Москва Россия
Сообщений: 1,497
Сказал(а) спасибо: 157
Поблагодарили 1,722 раз(а) в 702 сообщениях
Цитата:
Сообщение от ZOV Посмотреть сообщение
Патент зарегистрирован за FHF в 1910.
Это понятно. Но это же не означает, что только FHF имел право ставить его на свои механизмы. Другие же тоже могли?
__________________
Credo tibi sed dubito.
Ответить с цитированием
  #8  
Старый 24.02.2020, 21:40
Аватар для ZOV
ZOV ZOV вне форума  
Форумчанин
 
Регистрация: 20.09.2009
Адрес: Россия, Архангельск
Сообщений: 8,170
Сказал(а) спасибо: 6,724
Поблагодарили 8,430 раз(а) в 4,864 сообщениях
Я встречал такой как у Вас на каком-то другом из FHF, годов 20х-30х, не помню точно номер, что-то типа 1140. Клеймо на мосту и цифер были кого-то из некрупных.
P.S. Еще этот номер патента на FHF Robert встречается, в старой женской наручке.
__________________
Где время, там и часы... Или где часы, там и время?
Ответить с цитированием
  #9  
Старый 24.02.2020, 22:08
unklnown unklnown вне форума  
Форумчанин
 
Регистрация: 21.07.2019
Адрес: Москва Россия
Сообщений: 1,497
Сказал(а) спасибо: 157
Поблагодарили 1,722 раз(а) в 702 сообщениях
Груены, Альпины, Этерны - уже всё в башке смешалось. И на крышках всего по одной отметке о ремонте. Но на даты не похожи, скорее номера квитанций.
__________________
Credo tibi sed dubito.
Ответить с цитированием
  #10  
Старый 24.02.2020, 22:35
lexei lexei вне форума  
Форумчанин
 
Регистрация: 10.01.2018
Адрес: Марс, каньон Ио
Сообщений: 5,926
Сказал(а) спасибо: 587
Поблагодарили 7,201 раз(а) в 3,083 сообщениях
Ремонтуары FHF. механизмы видимо тоже.
Ответить с цитированием
Этот пользователь сказал Спасибо! lexei за это сообщение:
unklnown (25.02.2020)
Ответ


Быстрый переход

Похожие темы
Тема Автор Раздел Ответов Последнее сообщение
Красота механизмов Hong Dien О часовых механизмах 398 18.12.2014 13:17
В чем разница механизмов? prc200 О часовых механизмах 6 01.12.2013 23:43
Взаимозаменяемость механизмов. Klaxlex Longines 1 31.08.2013 06:00
Пара-пара - парадуемся? Pretcel Офтопик 9 29.10.2010 08:26
Пара часовых механизмов NEWGUEST Необычные часы 0 22.10.2009 15:56


Часовой пояс UTC +3, время: 17:26.