Застежка на Свотч - Часовой форум Watch.ru
 
Вернуться назад   Часовой форум Watch.ru > Ремонт часов, обслуживание часов > Ремонт часов и обслуживание
Регистрация | Забыли пароль?

Ремонт часов и обслуживание

Всё о ремонте часов и обслуживании часов, часовое оборудование.
Ответ
 
Опции темы
  #1  
Старый 12.03.2013, 18:05
Stanislav Stanislav вне форума  
Форумчанин
 
Регистрация: 02.11.2009
Адрес: Россия
Сообщений: 258
Сказал(а) спасибо: 797
Поблагодарили 35 раз(а) в 27 сообщениях
Застежка на Свотч

Добрый день, уважаемые форумчане, имеется в ремонте Свотч с поломанной застежкой - фиксатором. Как показывает практика штырь, который удерживает фиксатор расклепывается с двух сторон и таким образом удерживает фиксатор. При поломке длины не хватает для повторной расклепки. Металл, из которого выполнен штырь скорее всего нержа, подскажите, пожалуйста, где можно достать пруток нержавейки, чтобы обточить его до нужного диаметра?
Ответить с цитированием
  #2  
Старый 12.03.2013, 21:05
urverk urverk вне форума  
Форумчанин
 
Регистрация: 03.01.2013
Адрес: Донецк
Сообщений: 156
Сказал(а) спасибо: 53
Поблагодарили 139 раз(а) в 74 сообщениях
Можно нержавеющий электрод нужного диаметра, или еще лучше в магазинах сантехники продают винты разного размера и диаметра из нержавейки, для моек и т д. Эти винты точатся гораздо легче. Из какой марки стали они сделаны не знаю,
но это нержавейка для обработки на автоматических станках. И точится хорошо, и резьба легче режется, чем на обычной.
Ответить с цитированием
  #3  
Старый 12.03.2013, 22:03
lng lng вне форума  
Форумчанин
 
Регистрация: 28.04.2008
Адрес: г. Воткинск
Сообщений: 921
Сказал(а) спасибо: 516
Поблагодарили 821 раз(а) в 392 сообщениях
Там вроде такие стоят, бывают разной длины.
Миниатюры
Нажмите на изображение для увеличения
Название: шпилька.jpeg
Просмотров: 402
Размер:	17.0 Кб
ID:	402401  
Ответить с цитированием
  #4  
Старый 12.03.2013, 23:32
urverk urverk вне форума  
Форумчанин
 
Регистрация: 03.01.2013
Адрес: Донецк
Сообщений: 156
Сказал(а) спасибо: 53
Поблагодарили 139 раз(а) в 74 сообщениях
Я подумал про такой штырь. Тонкая проволока на "железячных" рынках есть, от 0,8 до 2,0 всегда бывает.
Миниатюры
Нажмите на изображение для увеличения
Название: 01.jpg
Просмотров: 444
Размер:	42.1 Кб
ID:	402503  
Ответить с цитированием
  #5  
Старый 13.03.2013, 12:40
Stanislav Stanislav вне форума  
Форумчанин
 
Регистрация: 02.11.2009
Адрес: Россия
Сообщений: 258
Сказал(а) спасибо: 797
Поблагодарили 35 раз(а) в 27 сообщениях
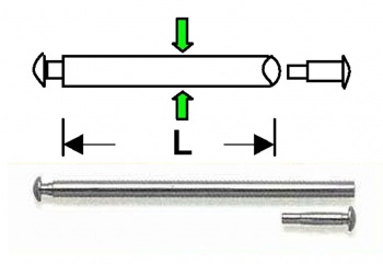
Добрый день, спасибо всем большое за советы. По магазинам сантехники пробегусь, у сварщиков про электроды поинтересуюсь. Уважаемый lng, я тоже подумал, что там полая штанга с двумя фиксаторами на концах, но разборка другого Свотча показала обратное, просто пруток с завальцованными краями. Я взял пуансон аля корневертка и легким постукиванием завальцевал концы, но длины не хватило. Думаю, фото все объяснит, но будет только завтра.
Ответить с цитированием
  #6  
Старый 13.03.2013, 21:44
Аватар для Trops
Trops Trops вне форума  
Форумчанин
 
Регистрация: 15.11.2006
Адрес: Москва
Сообщений: 6,212
Сказал(а) спасибо: 2,098
Поблагодарили 2,147 раз(а) в 1,545 сообщениях
Цитата:
Сообщение от lng Посмотреть сообщение
Там вроде такие стоят, бывают разной длины.
Самое то, что надо
Ответить с цитированием
  #7  
Старый 14.03.2013, 12:58
Stanislav Stanislav вне форума  
Форумчанин
 
Регистрация: 02.11.2009
Адрес: Россия
Сообщений: 258
Сказал(а) спасибо: 797
Поблагодарили 35 раз(а) в 27 сообщениях
Вот фото:

Буду делать как посоветовал Ing
Ответить с цитированием
Ответ


Быстрый переход

Похожие темы
Тема Автор Раздел Ответов Последнее сообщение
Раскладывающаяся застежка VS Обычная застежка Hong Dien Часовые ремешки, браслеты и цепочки для часов 29 28.02.2017 17:16
Застежка dai81 Часовые ремешки, браслеты и цепочки для часов 1 09.11.2011 19:26
застежка на UN e-sex-t Часовые ремешки, браслеты и цепочки для часов 2 01.12.2010 15:10
застежка Железный Дровосек Часовые ремешки, браслеты и цепочки для часов 3 20.10.2008 00:50


Часовой пояс UTC +3, время: 00:38.