Breitling B01 Premier водозащита - Страница 3 - Часовой форум Watch.ru
 
Вернуться назад   Часовой форум Watch.ru > Швейцарские часы > Breitling
Регистрация | Забыли пароль?

Breitling

Форум о часах Breitling.
Ответ
 
Опции темы
  #21  
Старый 30.08.2021, 20:19
rustic rustic вне форума  
Форумчанин
 
Регистрация: 27.05.2012
Адрес: впадаю в Каспий
Сообщений: 14,662
Сказал(а) спасибо: 267
Поблагодарили 11,143 раз(а) в 7,506 сообщениях
Мало того, есть и 50м. С предохранителем для совсем сухопутных
__________________
часы... эт понимаешь, они ходят... потом начинают бить
Ответить с цитированием
  #22  
Старый 30.08.2021, 21:01
Tapock Tapock вне форума  
Форумчанин
 
Регистрация: 25.07.2011
Адрес: Россия
Сообщений: 183
Сказал(а) спасибо: 39
Поблагодарили 20 раз(а) в 14 сообщениях
Цитата:
Сообщение от Stone1 Посмотреть сообщение

Навалом.
И Omega Seamaster Coaxial.
Ответить с цитированием
  #23  
Старый 31.08.2021, 00:49
Аватар для dmitrijshulc
dmitrijshulc dmitrijshulc вне форума  
Форумчанин
 
Регистрация: 11.05.2012
Адрес: ܒܝܬ ܢܗܪܝܢ - Пермь
Сообщений: 2,388
Сказал(а) спасибо: 2,877
Поблагодарили 3,667 раз(а) в 1,566 сообщениях
Цитата:
Сообщение от dimask Посмотреть сообщение
Да-с, похоже всё не те модели мне попадались)) Спасибо вам всем за инфу!
похоже не те у лонжин спирита нового на резьбе.
зы. зачем авиаторам закручивающаяся, так и не понял..
не благодарите
__________________
credo, quia absurdum
Ответить с цитированием
  #24  
Старый 31.08.2021, 00:56
Аватар для OrientBoss
OrientBoss OrientBoss вне форума  
Форумчанин
 
Регистрация: 02.02.2021
Адрес: USA
Сообщений: 1,567
Сказал(а) спасибо: 1,694
Поблагодарили 5,351 раз(а) в 881 сообщениях
Цитата:
Сообщение от ik7750 Посмотреть сообщение
Не верите - спросите производителя напрямую. Надеюсь, религия не запрещает такое?
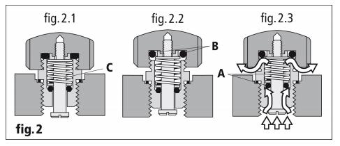
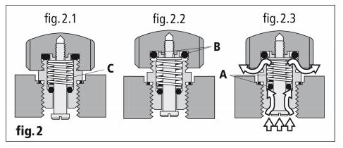
В завинчивающихся есть прокладка которая обжимаеся в завинченном положении, на рисунке другая головка но смысл должен быть понятен
Миниатюры
Нажмите на изображение для увеличения
Название: 2021-08-30 at 14-55-18.jpg
Просмотров: 185
Размер:	19.0 Кб
ID:	3277714  
Ответить с цитированием
  #25  
Старый 31.08.2021, 04:31
Аватар для Mechanic
Mechanic Mechanic вне форума  
Форумчанин
 
Регистрация: 30.10.2007
Адрес: Somewhere
Сообщений: 952
Сказал(а) спасибо: 954
Поблагодарили 3,064 раз(а) в 577 сообщениях
Цитата:
Сообщение от dimask Посмотреть сообщение
Да-с, похоже всё не те модели мне попадались)) Спасибо вам всем за инфу!
Oris Pilot Big Crown - 50м, IWC Mark 18 - 60м - ЗГ на резьбе.
Ответить с цитированием
  #26  
Старый 31.08.2021, 10:09
Аватар для ultarior
ultarior ultarior вне форума  
Форумчанин
 
Регистрация: 19.08.2011
Адрес: РФ, Люберцы МО
Сообщений: 15,114
Сказал(а) спасибо: 16,749
Поблагодарили 24,364 раз(а) в 7,732 сообщениях
Цитата:
Сообщение от dmitrijshulc Посмотреть сообщение
зачем авиаторам закручивающаяся, так и не понял..
затем же, зачем и дайверам - защита от повреждения заводного вала при ударе, защита от случайного выковыривания головки и возможного перевода стрелок.
__________________
Спасибо, что не удаляете историю переписки в сообщениях почты и ЛС!
Спасибо, что не хостите фотографии на сторонних хостах!
Ответить с цитированием
Этот пользователь сказал Спасибо! ultarior за это сообщение:
dmitrijshulc (31.08.2021)
  #27  
Старый 31.08.2021, 15:15
Аватар для dmitrijshulc
dmitrijshulc dmitrijshulc вне форума  
Форумчанин
 
Регистрация: 11.05.2012
Адрес: ܒܝܬ ܢܗܪܝܢ - Пермь
Сообщений: 2,388
Сказал(а) спасибо: 2,877
Поблагодарили 3,667 раз(а) в 1,566 сообщениях
Цитата:
Сообщение от ultarior Посмотреть сообщение
затем же, зачем и дайверам - защита от повреждения заводного вала при ударе, защита от случайного выковыривания головки и возможного перевода стрелок.
смотря какой удар, где так лишь защитные выступы помогут
это насколько небрежно надо к своим часам относиться….
наверно один я такой псих, джишоки бережно носил
и да, любые часы, независимо от стоимости для меня просто часы
__________________
credo, quia absurdum
Ответить с цитированием
Ответ


Быстрый переход

Похожие темы
Тема Автор Раздел Ответов Последнее сообщение
Коллекция Premier от Breitling Ego Новости 35 09.08.2019 22:32
Breitling Premier ref.777 Что это за механизм? MIR202 О часовых механизмах 1 20.02.2019 18:13


Часовой пояс UTC +3, время: 06:24.