История Nomos Glashütte/SA - Страница 2 - Часовой форум Watch.ru
 
Вернуться назад   Часовой форум Watch.ru > Немецкие часы > Другие немецкие часы > Nomos
Регистрация | Забыли пароль?

Nomos

Текущий рейтинг темы — 
Ответ
 
Опции темы
  #11  
Старый 21.07.2012, 11:28
Pustynnik Pustynnik вне форума  
Форумчанин
 
Регистрация: 13.11.2011
Адрес: -
Сообщений: 502
Сказал(а) спасибо: 891
Поблагодарили 1,567 раз(а) в 203 сообщениях
Цитата:
Сообщение от SZ 99 Посмотреть сообщение
Ну NOMOS ладно, куда не шло, у них свои калибры и собирают они часы, судя по всему, "с нуля", и поэтому на часы уходит около двух месяцев, но вот почему Stowa так долго "вставляет" ETA-калибр в свой корпус мне не понятно
... Про Тома Сойера все в детстве читали - мазнул, отошел, заценил, подошел, опять мазнул - и далее по алгоритму)))
Ответить с цитированием
  #12  
Старый 21.07.2012, 11:32
Аватар для SZ 99
SZ 99 SZ 99 вне форума  
Форумчанин
 
Регистрация: 29.05.2012
Адрес: Deutschland
Сообщений: 546
Сказал(а) спасибо: 77
Поблагодарили 410 раз(а) в 134 сообщениях
Ну именно так и не как иначе я это и могу объяснить. Не, ну правда, смешно, "готовые" часы собирать два месяца. Там у Йорга что, два человека работают? Я не думаю, что у них так уж много заказов.

ПОНТЫ!
Ответить с цитированием
  #13  
Старый 26.08.2012, 11:38
Аватар для SZ 99
SZ 99 SZ 99 вне форума  
Форумчанин
 
Регистрация: 29.05.2012
Адрес: Deutschland
Сообщений: 546
Сказал(а) спасибо: 77
Поблагодарили 410 раз(а) в 134 сообщениях
В 2001 году NOMOS подает заявку на регистрацию своего нового изобретения: указателя даты.

Особенность заключается в том, что кольцо указателя даты находится не над механизмом часов, как на калибрах других производителей, а непосредственно вокруг него, за счет чего толщина механизма практически не изменяется.
Миниатюры
Нажмите на изображение для увеличения
Название: Bild 001.png
Просмотров: 529
Размер:	95.6 Кб
ID:	300618   Нажмите на изображение для увеличения
Название: Bild 002.png
Просмотров: 503
Размер:	115.0 Кб
ID:	300619  
Вложения
Тип файла: pdf NOMOS Datumanzeige Patent DE10136420.pdf (463.8 Кб, 378 просмотров)
Ответить с цитированием
Этот пользователь сказал Спасибо! SZ 99 за это сообщение:
ZeppelinSPb (08.07.2019)
  #14  
Старый 26.08.2012, 11:49
Аватар для SZ 99
SZ 99 SZ 99 вне форума  
Форумчанин
 
Регистрация: 29.05.2012
Адрес: Deutschland
Сообщений: 546
Сказал(а) спасибо: 77
Поблагодарили 410 раз(а) в 134 сообщениях
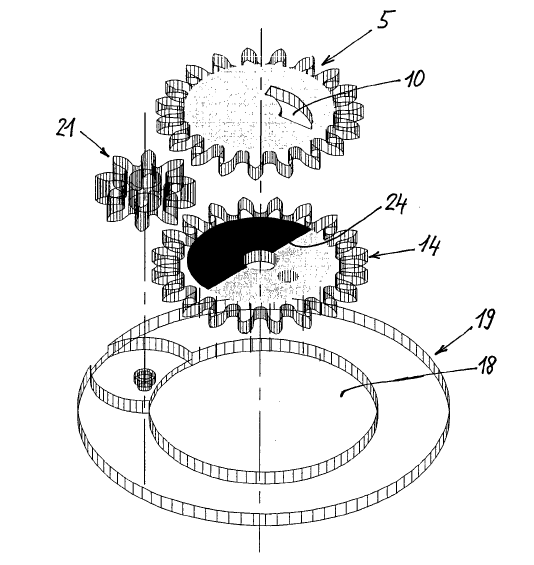
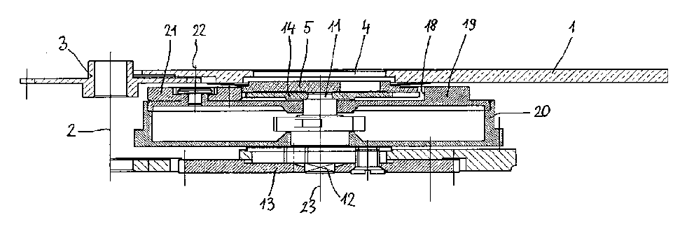
В 2003 году NOMOS регистрирует патент на совершенно новое решение механизма указателя резерва хода. Который состоит всего из всего трех дополнительных шестерен, что так же дает возможность практически не увеличивать толщину механизма.
Миниатюры
Нажмите на изображение для увеличения
Название: Bild 001.png
Просмотров: 507
Размер:	65.8 Кб
ID:	300632   Нажмите на изображение для увеличения
Название: Bild 002.png
Просмотров: 439
Размер:	34.2 Кб
ID:	300633  
Вложения
Тип файла: pdf NOMOS Gangreserveanzeige Patent DE10312447.pdf (476.4 Кб, 358 просмотров)
Ответить с цитированием
Этот пользователь сказал Спасибо! SZ 99 за это сообщение:
Pustynnik (26.08.2012)
  #15  
Старый 26.08.2012, 12:22
Аватар для SZ 99
SZ 99 SZ 99 вне форума  
Форумчанин
 
Регистрация: 29.05.2012
Адрес: Deutschland
Сообщений: 546
Сказал(а) спасибо: 77
Поблагодарили 410 раз(а) в 134 сообщениях
В 2010 году NOMOS подает заявку на регистрацию своего нового спускового механизма.
Миниатюры
Нажмите на изображение для увеличения
Название: Bild 001.png
Просмотров: 466
Размер:	48.0 Кб
ID:	300637  
Вложения
Тип файла: pdf NOMOS Hemmung Patent DE102010014234.pdf (23.3 Кб, 337 просмотров)
Ответить с цитированием
Этот пользователь сказал Спасибо! SZ 99 за это сообщение:
Pustynnik (26.08.2012)
  #16  
Старый 26.08.2012, 16:41
Pustynnik Pustynnik вне форума  
Форумчанин
 
Регистрация: 13.11.2011
Адрес: -
Сообщений: 502
Сказал(а) спасибо: 891
Поблагодарили 1,567 раз(а) в 203 сообщениях
... количество патентов свидетельствует о серьезном отношении марки к аспекту разработки собственных решений, устремлении иметь собственный интеллектуальный багаж... характеризует, как мне кажется...
Ответить с цитированием
  #17  
Старый 28.08.2012, 12:35
Аватар для SZ 99
SZ 99 SZ 99 вне форума  
Форумчанин
 
Регистрация: 29.05.2012
Адрес: Deutschland
Сообщений: 546
Сказал(а) спасибо: 77
Поблагодарили 410 раз(а) в 134 сообщениях
А вот как выглядели первые современные модели от NOMOS.

NOMOS Tangente:




NOMOS Ludwig:




NOMOS Orion:




NOMOS Tetra:

Вложения
Тип файла: pdf NOMOS Produktuebersicht.pdf (212.8 Кб, 383 просмотров)
Ответить с цитированием
Эти 4 пользователей сказали Спасибо! SZ 99 за это сообщение:
chumarus (26.08.2017), dmitrijshulc (06.08.2016), Hong Dien (15.12.2012), Pustynnik (28.08.2012)
  #18  
Старый 12.12.2012, 08:44
SHEPA SHEPA вне форума  
Форумчанин
 
Регистрация: 04.12.2010
Адрес: Калининград
Сообщений: 137
Сказал(а) спасибо: 28
Поблагодарили 64 раз(а) в 18 сообщениях
старый nomos

Вот нарыл у немцев http://www.clubnomos.de/nomos_katalog_1908.htm
Ответить с цитированием
  #19  
Старый 12.12.2012, 21:14
DmitryBY DmitryBY вне форума  
Форумчанин
 
Регистрация: 10.10.2012
Адрес: Польша
Сообщений: 398
Сказал(а) спасибо: 247
Поблагодарили 264 раз(а) в 163 сообщениях
Подскажите, а Nomos - независимая компания или принадлежит какому-нить ричмонду и т.д.?
Ответить с цитированием
  #20  
Старый 16.11.2013, 06:42
Pustynnik Pustynnik вне форума  
Форумчанин
 
Регистрация: 13.11.2011
Адрес: -
Сообщений: 502
Сказал(а) спасибо: 891
Поблагодарили 1,567 раз(а) в 203 сообщениях
... ну вот и еще парочка призов в копилку NOMOS Glashütte/SA упали... призы локального характера, как я понял (Германия и Австрия). но не только патриотизм тому обоснование, надеюсь...


желаю дальнейших успехов и развития марке!!!

p.s. а вот 13-й год оказался очень богатым на события!!

информация и фото взяты с официального сайта компании:
http://www.nomos-glashuette.com/en/w.../sieben-siege/
Ответить с цитированием
Ответ


Быстрый переход

Похожие темы
Тема Автор Раздел Ответов Последнее сообщение
Metro от Nomos Glashütte Ego Новости 16 17.04.2017 09:55
О Nomos Glashutte Ego Обзоры и информация 32 05.11.2013 01:02
Lux от Nomos Glashütte Ego Новости 7 28.10.2013 10:57
Мои Nomos Glashutte sadvic Nomos 37 11.01.2011 14:15


Часовой пояс UTC +3, время: 05:22.