Кировские к-43 , сделаем ко дню победы ? - Страница 470 - Часовой форум Watch.ru
 
Вернуться назад   Часовой форум Watch.ru > Российские часы > Другие российские часы
Регистрация | Забыли пароль?

Другие российские часы

Текущий рейтинг темы — 
Результаты опроса: Ребята будем делать или нет ?
да 399 90.07%
нет 44 9.93%
Голосовавшие: 443. Вы ещё не голосовали в этом опросе

Ответ
 
Опции темы
  #4691  
Старый 29.09.2013, 11:05
Аватар для pablo37
pablo37 pablo37 вне форума  
Форумчанин
 
Регистрация: 22.10.2011
Адрес: Зеленоград с 69 года,а родился в Раменском
Сообщений: 4,542
Сказал(а) спасибо: 50,928
Поблагодарили 49,614 раз(а) в 3,678 сообщениях
О как! А я в личку пишу то Crapaud, то seconda и жду ответа, наивный... Кто здесь главный-то? Хотел поучавствовать, к кому обратиться???
Ответить с цитированием
  #4692  
Старый 29.09.2013, 11:13
Аватар для red fox 1
red fox 1 red fox 1 вне форума  
Форумчанин
 
Регистрация: 26.03.2013
Адрес: Россия Калиниград
Сообщений: 835
Сказал(а) спасибо: 1,158
Поблагодарили 1,190 раз(а) в 386 сообщениях
Цитата:
Сообщение от pablo37 Посмотреть сообщение
О как! А я в личку пишу то Crapaud, то seconda и жду ответа, наивный... Кто здесь главный-то? Хотел поучавствовать, к кому обратиться???
Пишите Crapaud. Seconda давно самоустранился.
Ответить с цитированием
Этот пользователь сказал Спасибо! red fox 1 за это сообщение:
pablo37 (29.09.2013)
  #4693  
Старый 29.09.2013, 11:26
Аватар для crapaud
crapaud crapaud вне форума  
Форумчанин
 
Регистрация: 05.06.2010
Адрес: Россия, Москва
Сообщений: 903
Сказал(а) спасибо: 748
Поблагодарили 1,250 раз(а) в 375 сообщениях
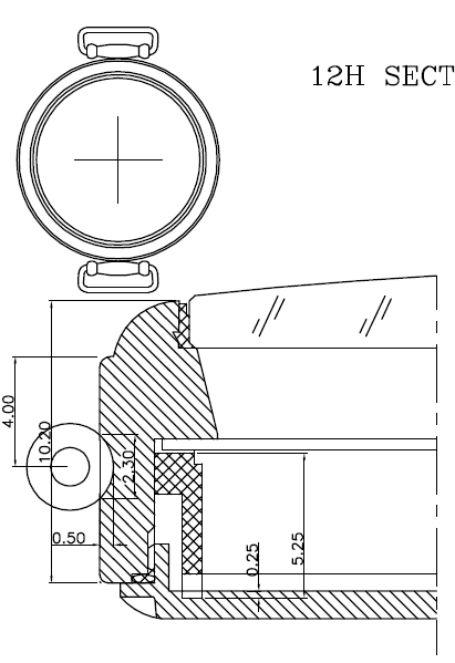
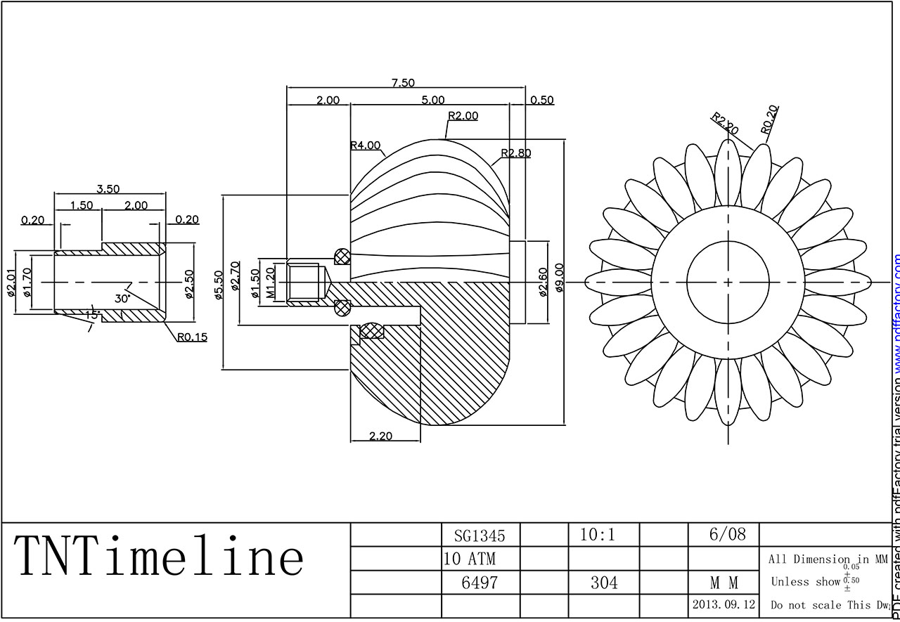
Выкладываю финальные чертежи от Торстена. Обсуждайте.

Жаждущих сегодня добавлю в список ожидающих

P.S. Загрузил в другом формате.... PNG что-то криво грузились на форуме...
Миниатюры
Нажмите на изображение для увеличения
Название: K43-2 Index 4FINAL-1.jpg
Просмотров: 216
Размер:	233.6 Кб
ID:	531146   Нажмите на изображение для увеличения
Название: K43-2 Index 4FINAL-2.jpg
Просмотров: 176
Размер:	174.2 Кб
ID:	531147   Нажмите на изображение для увеличения
Название: K43-2 Index 4FINAL-3.jpg
Просмотров: 175
Размер:	190.5 Кб
ID:	531148   Нажмите на изображение для увеличения
Название: K43-2 Index 4FINAL-4.jpg
Просмотров: 173
Размер:	128.0 Кб
ID:	531149   Нажмите на изображение для увеличения
Название: K43-2 Index 4FINAL-5.jpg
Просмотров: 189
Размер:	121.6 Кб
ID:	531150   Нажмите на изображение для увеличения
Название: K43-2 Index 4FINAL-6.jpg
Просмотров: 166
Размер:	150.1 Кб
ID:	531151   Нажмите на изображение для увеличения
Название: K43-2 Index 4FINAL-7.jpg
Просмотров: 168
Размер:	193.3 Кб
ID:	531152   Нажмите на изображение для увеличения
Название: K43-2 Index 4FINAL-8.jpg
Просмотров: 179
Размер:	138.9 Кб
ID:	531153  
__________________
мои часы
Ответить с цитированием
Эти 20 пользователей сказали Спасибо! crapaud за это сообщение:
Abu Danil (29.09.2013), Aimetti (29.09.2013), aleks7 (29.09.2013), anykey54 (29.09.2013), Bloodhund (30.09.2013), BoogieWoo (30.09.2013), dov15 (29.09.2013), fantom1981 (29.09.2013), harris1969 (29.09.2013), konstantin.ao (29.09.2013), meteor547 (29.09.2013), MOCKBA (29.09.2013), nahtigal (30.09.2013), odyssey (29.09.2013), red fox 1 (29.09.2013), sarvilin (29.09.2013), Steamboy (29.09.2013), under (10.01.2014), wulpie (29.09.2013), Полковник 39 (29.09.2013)
  #4694  
Старый 29.09.2013, 11:30
Аватар для Полковник 39
Полковник 39 Полковник 39 вне форума  
Форумчанин
 
Регистрация: 01.04.2011
Адрес: Ярославль
Сообщений: 2,240
Сказал(а) спасибо: 1,700
Поблагодарили 1,875 раз(а) в 760 сообщениях
Цитата:
Сообщение от crapaud Посмотреть сообщение
Выкладываю финальные чертежи от Торстена. Обсуждайте.

Жаждущих сегодня добавлю в список ожидающих
У меня лично, чертежи не увеличиваются.
Ответить с цитированием
  #4695  
Старый 29.09.2013, 11:36
Аватар для pablo37
pablo37 pablo37 вне форума  
Форумчанин
 
Регистрация: 22.10.2011
Адрес: Зеленоград с 69 года,а родился в Раменском
Сообщений: 4,542
Сказал(а) спасибо: 50,928
Поблагодарили 49,614 раз(а) в 3,678 сообщениях
Цитата:
Сообщение от crapaud Посмотреть сообщение
Жаждущих сегодня добавлю в список ожидающих
Какие мои дальнейшие действия?
Ответить с цитированием
  #4696  
Старый 29.09.2013, 11:40
Аватар для konstantin.ao
konstantin.ao konstantin.ao вне форума  
Форумчанин
 
Регистрация: 07.05.2010
Адрес: Kazakhstan. Almaty.
Сообщений: 2,261
Сказал(а) спасибо: 16,261
Поблагодарили 5,195 раз(а) в 1,662 сообщениях
Цитата:
Сообщение от Полковник 39 Посмотреть сообщение
У меня лично, чертежи не увеличиваются.
Увеличиваются.
Ответить с цитированием
  #4697  
Старый 29.09.2013, 11:42
Аватар для anykey54
anykey54 anykey54 вне форума  
Форумчанин
 
Регистрация: 29.08.2012
Адрес: Россия, Новосибирск
Сообщений: 1,474
Сказал(а) спасибо: 1,083
Поблагодарили 2,721 раз(а) в 780 сообщениях
Цитата:
Сообщение от Полковник 39 Посмотреть сообщение
У меня лично, чертежи не увеличиваются.
у меня все ок, увеличиваются
__________________
Ответить с цитированием
Этот пользователь сказал Спасибо! anykey54 за это сообщение:
Abu Danil (29.09.2013)
  #4698  
Старый 29.09.2013, 11:53
Аватар для ATrps
ATrps ATrps вне форума  
Форумчанин
 
Регистрация: 20.10.2011
Адрес: Мск
Сообщений: 331
Сказал(а) спасибо: 79
Поблагодарили 823 раз(а) в 138 сообщениях
Мне все нравится. Запускаем. (?) До вечера Пн. жду отзывов. В личку.
Миниатюры
Нажмите на изображение для увеличения
Название: 3Hsec.jpg
Просмотров: 105
Размер:	150.3 Кб
ID:	531164   Нажмите на изображение для увеличения
Название: 12sec.jpg
Просмотров: 96
Размер:	95.9 Кб
ID:	531165   Нажмите на изображение для увеличения
Название: case.jpg
Просмотров: 96
Размер:	70.2 Кб
ID:	531166   Нажмите на изображение для увеличения
Название: diam.jpg
Просмотров: 94
Размер:	99.0 Кб
ID:	531167   Нажмите на изображение для увеличения
Название: glass.jpg
Просмотров: 91
Размер:	48.2 Кб
ID:	531168   Нажмите на изображение для увеличения
Название: head.jpg
Просмотров: 99
Размер:	121.4 Кб
ID:	531169  
__________________
С уважением,
ATrps.
Ответить с цитированием
Эти 7 пользователей сказали Спасибо! ATrps за это сообщение:
Abu Danil (29.09.2013), aleks7 (29.09.2013), meteor547 (29.09.2013), odyssey (29.09.2013), sarvilin (29.09.2013), Steamboy (29.09.2013), Полковник 39 (29.09.2013)
  #4699  
Старый 29.09.2013, 12:07
Аватар для red fox 1
red fox 1 red fox 1 вне форума  
Форумчанин
 
Регистрация: 26.03.2013
Адрес: Россия Калиниград
Сообщений: 835
Сказал(а) спасибо: 1,158
Поблагодарили 1,190 раз(а) в 386 сообщениях
У кого есть оригинальные часы, сравните, пожалуйста. И кто нибудь объяснит, почему уши 15.2 ?
Ответить с цитированием
  #4700  
Старый 29.09.2013, 12:12
Аватар для ATrps
ATrps ATrps вне форума  
Форумчанин
 
Регистрация: 20.10.2011
Адрес: Мск
Сообщений: 331
Сказал(а) спасибо: 79
Поблагодарили 823 раз(а) в 138 сообщениях
Цитата:
Сообщение от red fox 1 Посмотреть сообщение
И кто нибудь объяснит, почему уши 15.2 ?
http://forum.watch.ru/showthread.php?t=185122
__________________
С уважением,
ATrps.
Ответить с цитированием
Ответ
Метки
форумная лимитка


Быстрый переход

Похожие темы
Тема Автор Раздел Ответов Последнее сообщение
Часы дня ПОБЕДЫ Narod Общий раздел 29 09.05.2011 12:36
ремешок ко дню победы under Другие российские часы 30 29.04.2011 01:43
Ко Дню Победы. Трифон Офтопик 2 28.04.2010 17:53
День Победы 2009 OddyRash Офтопик 30 15.05.2009 16:31
С Днем Победы! SSS69 Поздравления 10 10.05.2008 16:31


Часовой пояс UTC +3, время: 10:31.