От каких часов DH корпус? - Часовой форум Watch.ru
 
Вернуться назад   Часовой форум Watch.ru > Все о часах и про часы > Что за часы? Сколько стоят эти часы?
Регистрация | Забыли пароль?

Что за часы? Сколько стоят эти часы?

У вас есть часы, но вы не знаете модель или производителя, или нужна помощь в оценке. Не забывайте размещать качественные фотографии.
Ответ
 
Опции темы
  #1  
Старый 19.11.2022, 23:00
VLADIMIR2708 VLADIMIR2708 вне форума  
Форумчанин
 
Регистрация: 01.11.2021
Адрес: Воронеж
Сообщений: 115
Сказал(а) спасибо: 86
Поблагодарили 11 раз(а) в 10 сообщениях
От каких часов DH корпус?

Подскажите от каких часов корпус и какова его стоимость?
Миниатюры
Нажмите на изображение для увеличения
Название: 20221119_222402.jpg
Просмотров: 156
Размер:	282.1 Кб
ID:	3485833   Нажмите на изображение для увеличения
Название: 20221119_222202.jpg
Просмотров: 141
Размер:	306.1 Кб
ID:	3485834   Нажмите на изображение для увеличения
Название: 20221119_222231.jpg
Просмотров: 149
Размер:	245.2 Кб
ID:	3485835   Нажмите на изображение для увеличения
Название: 20221119_222335.jpg
Просмотров: 104
Размер:	254.4 Кб
ID:	3485836  
Ответить с цитированием
  #2  
Старый 20.11.2022, 11:07
egoregorov egoregorov вне форума  
Временно заблокирован | Temporarily blocked
 
Регистрация: 29.09.2013
Адрес: Краснодар
Сообщений: 5,834
Сказал(а) спасибо: 7,825
Поблагодарили 4,542 раз(а) в 2,205 сообщениях
добрый. прятали свои настоящие имена производители, отсюда и названия эти часов - "фелки" различные, "милки" и "мимо"...
нужно посмотреть по номеру патента на внутр. стороне крышки... написАть из чего корпус (сталь или нет, стальные корпуса, по моему, только Зенит делал) и указать диаметр корпуса наружный и диаметр внутренний, под механизм...
а так, по моему, корпус под самый распространенный мех DH - AS1130...самый близкий номер часов к вашему -
==Наручные часы Milex AS 1130 256003 ==
ну и, в сети есть отличный материал по этим часам, ищите по автору Конрад Книрим...
Ответить с цитированием
  #3  
Старый 20.11.2022, 21:27
Аватар для 0xotn1k
0xotn1k 0xotn1k вне форума  
Форумчанин
 
Регистрация: 03.03.2014
Адрес: Деревня Гадюкино
Сообщений: 6,777
Сказал(а) спасибо: 4,825
Поблагодарили 4,162 раз(а) в 2,654 сообщениях
Курил тему корпуса и для наручек и для карманных имели стандарт установленный немцами. Вариации лишь по внутренним посадочным местам были под свои механизмы. Концы по корпусу Вам не найти уже.
Ответить с цитированием
Этот пользователь сказал Спасибо! 0xotn1k за это сообщение:
VLADIMIR2708 (21.11.2022)
  #4  
Старый 20.11.2022, 21:33
H M P H M P вне форума  
Форумчанин
 
Регистрация: 18.06.2020
Адрес: Полянка
Сообщений: 438
Сказал(а) спасибо: 268
Поблагодарили 626 раз(а) в 305 сообщениях
Ответить с цитированием
Этот пользователь сказал Спасибо! H M P за это сообщение:
VLADIMIR2708 (21.11.2022)
  #5  
Старый 20.11.2022, 22:34
egoregorov egoregorov вне форума  
Временно заблокирован | Temporarily blocked
 
Регистрация: 29.09.2013
Адрес: Краснодар
Сообщений: 5,834
Сказал(а) спасибо: 7,825
Поблагодарили 4,542 раз(а) в 2,205 сообщениях
спасибо!! а патент на что, в конкретном случае?
Ответить с цитированием
  #6  
Старый 20.11.2022, 23:09
Аватар для 0xotn1k
0xotn1k 0xotn1k вне форума  
Форумчанин
 
Регистрация: 03.03.2014
Адрес: Деревня Гадюкино
Сообщений: 6,777
Сказал(а) спасибо: 4,825
Поблагодарили 4,162 раз(а) в 2,654 сообщениях
На резьбу на задней крышке и резиновое изделие))))
Ответить с цитированием
Этот пользователь сказал Спасибо! 0xotn1k за это сообщение:
egoregorov (21.11.2022)
  #7  
Старый 21.11.2022, 00:05
Аватар для ZOV
ZOV ZOV вне форума  
Форумчанин
 
Регистрация: 20.09.2009
Адрес: Россия, Архангельск
Сообщений: 8,170
Сказал(а) спасибо: 6,724
Поблагодарили 8,430 раз(а) в 4,864 сообщениях
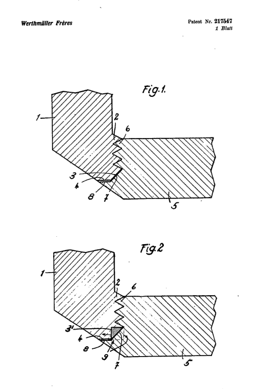
Патент 1941 года
Миниатюры
Нажмите на изображение для увеличения
Название: Снимок экрана 2022-11-20 235959.png
Просмотров: 108
Размер:	87.0 Кб
ID:	3486283  
__________________
Где время, там и часы... Или где часы, там и время?
Ответить с цитированием
Эти 4 пользователей сказали Спасибо! ZOV за это сообщение:
0xotn1k (21.11.2022), egoregorov (21.11.2022), H M P (21.11.2022), uvarrov (21.11.2022)
  #8  
Старый 21.11.2022, 11:09
egoregorov egoregorov вне форума  
Временно заблокирован | Temporarily blocked
 
Регистрация: 29.09.2013
Адрес: Краснодар
Сообщений: 5,834
Сказал(а) спасибо: 7,825
Поблагодарили 4,542 раз(а) в 2,205 сообщениях
ZOV, приветствую Вас!
спасибо за ответ.
Ответить с цитированием
Ответ


Быстрый переход


Часовой пояс UTC +3, время: 00:41.