Маятник первичных часов П-3 - Часовой форум Watch.ru
 
Вернуться назад   Часовой форум Watch.ru > Разные часы > Интерьерные часы
Регистрация | Забыли пароль?

Интерьерные часы

Форум о настольных часах, напольных часах, настенных часах, включая часы с кукушкой.
Ответ
 
Опции темы
  #1  
Старый 31.07.2025, 12:32
omandrej omandrej вне форума  
Новичок
 
Регистрация: 05.10.2014
Адрес: Гомель,Беларусь.
Сообщений: 11
Сказал(а) спасибо: 87
Поблагодарили 0 раз(а) в 0 сообщениях
Маятник первичных часов П-3

Нажмите на изображение для увеличения
Название: Маятник П-3.jpg
Просмотров: 49
Размер:	119.2 Кб
ID:	3872408

Подскажите как осуществляется температурная компенсация маятника первичных часов П-3?
Ответить с цитированием
  #2  
Старый 01.08.2025, 11:23
omandrej omandrej вне форума  
Новичок
 
Регистрация: 05.10.2014
Адрес: Гомель,Беларусь.
Сообщений: 11
Сказал(а) спасибо: 87
Поблагодарили 0 раз(а) в 0 сообщениях
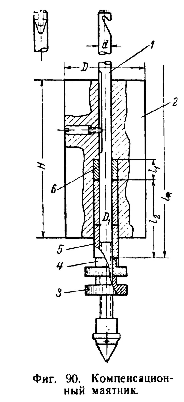
Дело в том что я считал что термокомпенсированний маятник имеет вот такую конструкцию.
Нажмите на изображение для увеличения
Название: Маятник.jpg
Просмотров: 24
Размер:	137.7 Кб
ID:	3872832

Где под номером 5 и 6 стальная и латунная компенсационная трубки. Но разобрав маятник первичных часов П-3 я не нашел внутри ничего, поиск в литературе выдал эскиз на котором тоже внутри маятника нет компенсационных втулок, хотя место под их установку есть.

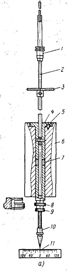
Маятник часов ЭПЧГ тоже имеет термокомпнсацию.
Нажмите на изображение для увеличения
Название: Маятник ЭПЧГ.jpg
Просмотров: 22
Размер:	35.5 Кб
ID:	3872833

Может кто ни будь знает из какого материала изготовлена штанга маятника первичных часов П-3?
Ответить с цитированием
Ответ


Быстрый переход

Похожие темы
Тема Автор Раздел Ответов Последнее сообщение
Маятник настенных часов Oldwatches Ремонт часов и обслуживание 3 01.02.2025 19:56
Маятник напольных часов gromoboy Ремонт часов и обслуживание 13 16.02.2023 13:05
Маятник для часов ПЗ/ПКл3-24 RK3DJV Необычные часы 0 02.03.2019 21:26
ремонт первичных часов grisha225 Ремонт часов и обслуживание 4 28.07.2011 20:48


Часовой пояс UTC +3, время: 08:22.