Индикация сегментов ламп часов Электроника Г9.04 - Часовой форум Watch.ru
 
Вернуться назад   Часовой форум Watch.ru > Ремонт часов, обслуживание часов > Ремонт часов и обслуживание
Регистрация | Забыли пароль?

Ремонт часов и обслуживание

Всё о ремонте часов и обслуживании часов, часовое оборудование.
Ответ
 
Опции темы
  #1  
Старый 20.03.2017, 13:18
Dmitriy Al Dmitriy Al вне форума  
Новичок
 
Регистрация: 20.03.2017
Адрес: Свердловск
Сообщений: 41
Сказал(а) спасибо: 13
Поблагодарили 0 раз(а) в 0 сообщениях
Индикация сегментов ламп часов Электроника Г9.04

Добрый день, товарищи часовщики!!! Такая история приобрел я на барахолке часы Электроника Г9.04 (Электроника 13) они были без трансформатора, нашел я у себя подобный транс ТП-133-3 с других часов. Вызвонил нужные обмотки 1,3В и 8,0В. Подсоединил заработали, засветились. После минут пяти работы нажал красную кнопку, часы потухли, нажал ее опять часы засветились но уже с проблемой, а именно: часовые лампы светились по два сегмента и всё. Думал спалил лампы, поменял местами с минутными все норм - лампы годные. Помогите понять в чем причина???? Жалко ведь работали запустились, а потом бац и ... Напряжение на плате проверил 1,3В и 16,0В хотя с транса выходит 8,0В. Так как в электронике я не очень силен покажите на фото где и что заменить или посмотреть. Спасибо, жду обратной связи.
Миниатюры
Нажмите на изображение для увеличения
Название: 18960031_eddf8faa2d8c8158b14721856b73c345_800.png
Просмотров: 1218
Размер:	29.9 Кб
ID:	1733812   Нажмите на изображение для увеличения
Название: DSC01623.jpg
Просмотров: 917
Размер:	292.2 Кб
ID:	1733820   Нажмите на изображение для увеличения
Название: DSC01620.jpg
Просмотров: 996
Размер:	436.9 Кб
ID:	1733821   Нажмите на изображение для увеличения
Название: DSC01624.jpg
Просмотров: 800
Размер:	411.7 Кб
ID:	1733822   Нажмите на изображение для увеличения
Название: DSC01627.jpg
Просмотров: 774
Размер:	298.8 Кб
ID:	1733823   Нажмите на изображение для увеличения
Название: DSC01616.jpg
Просмотров: 797
Размер:	465.5 Кб
ID:	1733824  
Ответить с цитированием
  #2  
Старый 20.03.2017, 16:18
Аватар для dmvt1
dmvt1 dmvt1 вне форума  
Форумчанин
 
Регистрация: 05.11.2010
Адрес: Санкт-Петербург, Россия
Сообщений: 8,097
Сказал(а) спасибо: 58
Поблагодарили 7,714 раз(а) в 4,023 сообщениях
Часы надо банально сбросить кнопкой "Уст. 0". По схеме S1. После включения питания счетчики могут находится в произвольном состоянии, в т.ч. больше, чем 9. А эту ситуацию дешифраторы не могут отобразить правильно. Разработчики сэкономили три копейки на цепи формирования импульса сброса при включении питания. Халтура. Вместо этого кнопку сброса приделали.
Ответить с цитированием
Этот пользователь сказал Спасибо! dmvt1 за это сообщение:
Dmitriy Al (20.03.2017)
  #3  
Старый 20.03.2017, 16:41
Dmitriy Al Dmitriy Al вне форума  
Новичок
 
Регистрация: 20.03.2017
Адрес: Свердловск
Сообщений: 41
Сказал(а) спасибо: 13
Поблагодарили 0 раз(а) в 0 сообщениях
Сделал как Вы посоветовали, даже все кнопки понажимал, результата нет. Может еще какие идеи у Вас имеются?
Ответить с цитированием
  #4  
Старый 20.03.2017, 17:28
Аватар для VGA240x320
VGA240x320 VGA240x320 вне форума  
Форумчанин
 
Регистрация: 11.11.2013
Адрес: Ростов-на-Дону
Сообщений: 1,818
Сказал(а) спасибо: 38,634
Поблагодарили 10,587 раз(а) в 2,186 сообщениях
Цитата:
Сообщение от Dmitriy Al Посмотреть сообщение
Напряжение на плате проверил 1,3В и 16,0В
16В- это слишком много для 176 микросхем.
Ответить с цитированием
  #5  
Старый 20.03.2017, 17:49
Dmitriy Al Dmitriy Al вне форума  
Новичок
 
Регистрация: 20.03.2017
Адрес: Свердловск
Сообщений: 41
Сказал(а) спасибо: 13
Поблагодарили 0 раз(а) в 0 сообщениях
Вы хотите сказать что полетела микросхема?
Ответить с цитированием
  #6  
Старый 20.03.2017, 18:17
Аватар для VGA240x320
VGA240x320 VGA240x320 вне форума  
Форумчанин
 
Регистрация: 11.11.2013
Адрес: Ростов-на-Дону
Сообщений: 1,818
Сказал(а) спасибо: 38,634
Поблагодарили 10,587 раз(а) в 2,186 сообщениях
Не исключено при таком напряжении.
Ответить с цитированием
  #7  
Старый 20.03.2017, 18:58
Dmitriy Al Dmitriy Al вне форума  
Новичок
 
Регистрация: 20.03.2017
Адрес: Свердловск
Сообщений: 41
Сказал(а) спасибо: 13
Поблагодарили 0 раз(а) в 0 сообщениях
А как узнать? И какую именно микросхему смотреть?

Я пробовал ставить два трансформатора, один 12В второй на 1,3В реакции нет вообще ни чего не горит.
Ответить с цитированием
  #8  
Старый 20.03.2017, 19:01
Аватар для VGA240x320
VGA240x320 VGA240x320 вне форума  
Форумчанин
 
Регистрация: 11.11.2013
Адрес: Ростов-на-Дону
Сообщений: 1,818
Сказал(а) спасибо: 38,634
Поблагодарили 10,587 раз(а) в 2,186 сообщениях
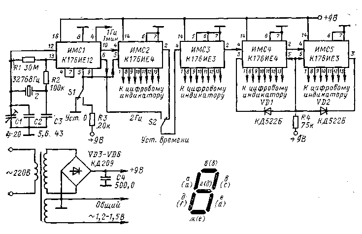
Для начала надо с питанием разобраться. На плате виден стабилитрон, на нем должно быть 9В. Схема на 1-м рисунке не соответствует тому, что на плате.
Вот эта скорее всего та:

Нажмите на изображение для увеличения
Название: elektronika4_g9-02.jpg
Просмотров: 1279
Размер:	317.6 Кб
ID:	1734242
Ответить с цитированием
Этот пользователь сказал Спасибо! VGA240x320 за это сообщение:
Dmitriy Al (20.03.2017)
  #9  
Старый 20.03.2017, 19:25
Dmitriy Al Dmitriy Al вне форума  
Новичок
 
Регистрация: 20.03.2017
Адрес: Свердловск
Сообщений: 41
Сказал(а) спасибо: 13
Поблагодарили 0 раз(а) в 0 сообщениях
Померял на стабилитроне показания 7,94В, что дальше, если Вам не трудно подскажите
Ответить с цитированием
  #10  
Старый 20.03.2017, 19:27
Аватар для VGA240x320
VGA240x320 VGA240x320 вне форума  
Форумчанин
 
Регистрация: 11.11.2013
Адрес: Ростов-на-Дону
Сообщений: 1,818
Сказал(а) спасибо: 38,634
Поблагодарили 10,587 раз(а) в 2,186 сообщениях
Цитата:
Сообщение от Dmitriy Al Посмотреть сообщение
7,94В
Это нормально.
А на ножках питания микросхем?
Ответить с цитированием
Этот пользователь сказал Спасибо! VGA240x320 за это сообщение:
Dmitriy Al (20.03.2017)
Ответ


Быстрый переход

Похожие темы
Тема Автор Раздел Ответов Последнее сообщение
Любителям часов Электроника 5 29367 - Виджет данных часов для Android девайсов denka977 Электроника 12 30.07.2013 03:30
ЖКИ мажет мимо сегментов siealex Электроника 7 09.11.2011 15:26
Электроника 5 странный ход часов Андрей В. Электроника 12 06.08.2011 23:57


Часовой пояс UTC +3, время: 06:44.