Что за механизм в часах Павел Буре 1905 год - Часовой форум Watch.ru
 
Вернуться назад   Часовой форум Watch.ru > Все о часах и про часы > Что за часы? Сколько стоят эти часы?
Регистрация | Забыли пароль?

Что за часы? Сколько стоят эти часы?

У вас есть часы, но вы не знаете модель или производителя, или нужна помощь в оценке. Не забывайте размещать качественные фотографии.
Ответ
 
Опции темы
  #1  
Старый 07.05.2018, 14:57
TolyaPol TolyaPol вне форума  
Новичок
 
Регистрация: 19.02.2018
Адрес: Москва
Сообщений: 9
Сказал(а) спасибо: 8
Поблагодарили 4 раз(а) в 4 сообщениях
Что за механизм в часах Павел Буре 1905 год

Добрый день!
Подскажите по механизму карманных (ковровых?) часов, возможно ссылку на каталог какой или просто информацию о производителе. Надписей и клейм на механизме визуально нет. Диаметр корпуса часов примерно 64 мм. Сами часы по номеру на 1905 год. В интернете ничего не нашёл.
Миниатюры
Нажмите на изображение для увеличения
Название: 3D1BA36A-C8DC-4CD9-A20A-FFAB5E5B5DB6.jpg
Просмотров: 946
Размер:	375.3 Кб
ID:	2189972   Нажмите на изображение для увеличения
Название: 2FD513DA-D9A7-48DF-B364-1D18CF641762.jpg
Просмотров: 601
Размер:	361.0 Кб
ID:	2189974   Нажмите на изображение для увеличения
Название: 8965EAF1-D04D-4B70-8FF3-725254C54E15.jpg
Просмотров: 686
Размер:	412.0 Кб
ID:	2189975   Нажмите на изображение для увеличения
Название: F5165D9F-A5B1-46A8-8CD2-F8B432543259.jpg
Просмотров: 863
Размер:	378.3 Кб
ID:	2189976   Нажмите на изображение для увеличения
Название: FA00D7E9-A501-41F1-B677-7B58BDBB4BCC.jpg
Просмотров: 523
Размер:	255.9 Кб
ID:	2189977   Нажмите на изображение для увеличения
Название: C45CF540-4362-4B3F-A13B-07A7D8D91CE9.jpg
Просмотров: 493
Размер:	245.7 Кб
ID:	2189978   Нажмите на изображение для увеличения
Название: B86AB644-DC04-46F2-B557-049E43DCB950.jpg
Просмотров: 483
Размер:	366.6 Кб
ID:	2189979  
Ответить с цитированием
  #2  
Старый 07.05.2018, 15:21
АГЕНТ 242 АГЕНТ 242 вне форума  
Форумчанин
 
Регистрация: 08.04.2013
Адрес: россия
Сообщений: 5,962
Сказал(а) спасибо: 369
Поблагодарили 2,426 раз(а) в 1,993 сообщениях
Хорошие часы ,долго я на них смотрел,но дорого....калибр не скажу,а диспозитивный регулятор ,штука нечастая....да ,и часы нечастые ,и по размеру,и по меху...мне вот интересно ,не могут -ли быть эти часы палубными...я что-то жалеть начал,что не купил их...
Ответить с цитированием
Этот пользователь сказал Спасибо! АГЕНТ 242 за это сообщение:
TolyaPol (07.05.2018)
  #3  
Старый 07.05.2018, 18:02
TolyaPol TolyaPol вне форума  
Новичок
 
Регистрация: 19.02.2018
Адрес: Москва
Сообщений: 9
Сказал(а) спасибо: 8
Поблагодарили 4 раз(а) в 4 сообщениях
Я на них месяц смотрел, искал инфу в инете, ничего не нашёл, но решился купить с торгом. Вот теперь пытаюсь понять, что такое купил.
Агент 242, спасибо за первую информацию и интересные предположения.
Ответить с цитированием
  #4  
Старый 07.05.2018, 19:38
АГЕНТ 242 АГЕНТ 242 вне форума  
Форумчанин
 
Регистрация: 08.04.2013
Адрес: россия
Сообщений: 5,962
Сказал(а) спасибо: 369
Поблагодарили 2,426 раз(а) в 1,993 сообщениях
часы отличные,поздравляю,вторые такие найти будет сложно....
Ответить с цитированием
Этот пользователь сказал Спасибо! АГЕНТ 242 за это сообщение:
TolyaPol (07.05.2018)
  #5  
Старый 07.05.2018, 20:06
Аватар для ZOV
ZOV ZOV вне форума  
Форумчанин
 
Регистрация: 20.09.2009
Адрес: Россия, Архангельск
Сообщений: 8,170
Сказал(а) спасибо: 6,726
Поблагодарили 8,430 раз(а) в 4,864 сообщениях
Автор этого регулятора - Charles Rosat, Локль. 1900е года.
__________________
Где время, там и часы... Или где часы, там и время?
Ответить с цитированием
Эти 3 пользователей сказали Спасибо! ZOV за это сообщение:
0xotn1k (07.05.2018), egoregorov (07.05.2018), TolyaPol (07.05.2018)
  #6  
Старый 07.05.2018, 21:00
TolyaPol TolyaPol вне форума  
Новичок
 
Регистрация: 19.02.2018
Адрес: Москва
Сообщений: 9
Сказал(а) спасибо: 8
Поблагодарили 4 раз(а) в 4 сообщениях
Цитата:
Сообщение от ZOV Посмотреть сообщение
Автор этого регулятора - Charles Rosat, Локль. 1900е года.
ZOV, спасибо за информацию, нашёл регулятор на просторах интернета

------- ДОБАВЛЕНО ЧЕРЕЗ 12 МИН --------

Вроде пишут, что есть даже золотые элементы: «золотая вставка на плате, золотой центральный шатон». Может и заводная тоже золотая
Миниатюры
Нажмите на изображение для увеличения
Название: E1A8A674-C681-4E85-AC25-FBC21C15E634.png
Просмотров: 392
Размер:	1.53 Мб
ID:	2190444  
Ответить с цитированием
  #7  
Старый 07.05.2018, 21:52
egoregorov egoregorov вне форума  
Временно заблокирован | Temporarily blocked
 
Регистрация: 29.09.2013
Адрес: Краснодар
Сообщений: 5,834
Сказал(а) спасибо: 7,825
Поблагодарили 4,544 раз(а) в 2,205 сообщениях
и где же, такие висели месяц???
Ответить с цитированием
  #8  
Старый 07.05.2018, 22:16
TolyaPol TolyaPol вне форума  
Новичок
 
Регистрация: 19.02.2018
Адрес: Москва
Сообщений: 9
Сказал(а) спасибо: 8
Поблагодарили 4 раз(а) в 4 сообщениях
Цитата:
Сообщение от egoregorov Посмотреть сообщение
и где же, такие висели месяц???
На авито

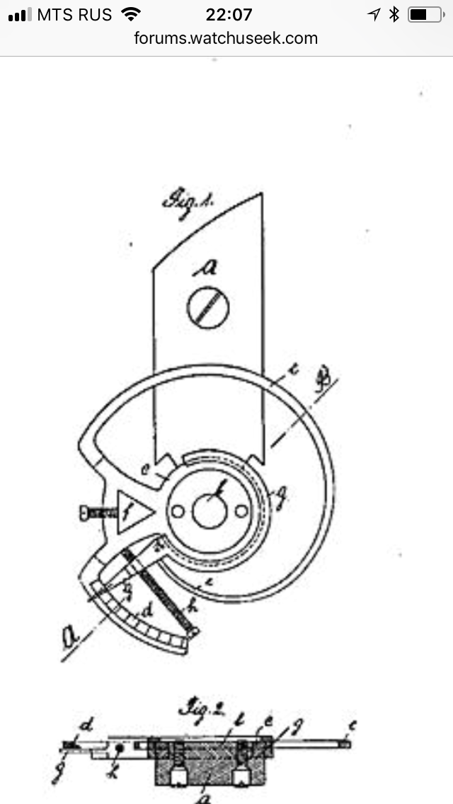
------- ДОБАВЛЕНО ЧЕРЕЗ 18 МИН --------

Вот патент на регулятор нашёл: http://forums.watchuseek.com/f11/cha...2008746?page=1
Миниатюры
Нажмите на изображение для увеличения
Название: EB12744B-692A-433E-9986-AC017B3433E5.png
Просмотров: 336
Размер:	246.0 Кб
ID:	2190481   Нажмите на изображение для увеличения
Название: BF5F3EBF-8212-4C91-AD78-9030F62A4F9E.png
Просмотров: 339
Размер:	180.8 Кб
ID:	2190482   Нажмите на изображение для увеличения
Название: B6215BF2-BFC8-4DDE-9E90-B88E77E760C6.png
Просмотров: 326
Размер:	99.3 Кб
ID:	2190483   Нажмите на изображение для увеличения
Название: 859114B3-8246-43C0-AE11-4D58D556F305.png
Просмотров: 316
Размер:	247.7 Кб
ID:	2190484  
Ответить с цитированием
Этот пользователь сказал Спасибо! TolyaPol за это сообщение:
egoregorov (07.05.2018)
  #9  
Старый 07.05.2018, 22:17
АГЕНТ 242 АГЕНТ 242 вне форума  
Форумчанин
 
Регистрация: 08.04.2013
Адрес: россия
Сообщений: 5,962
Сказал(а) спасибо: 369
Поблагодарили 2,426 раз(а) в 1,993 сообщениях
Цитата:
Сообщение от TolyaPol Посмотреть сообщение
ZOV, спасибо за информацию, нашёл регулятор на просторах интернета

------- ДОБАВЛЕНО ЧЕРЕЗ 12 МИН --------

Вроде пишут, что есть даже золотые элементы: «золотая вставка на плате, золотой центральный шатон». Может и заводная тоже золотая
НЕ обольщайтесь, у Вас если ,и золотая ,то только накладка на мосту анкерного колеса...
Ответить с цитированием
Этот пользователь сказал Спасибо! АГЕНТ 242 за это сообщение:
TolyaPol (07.05.2018)
  #10  
Старый 07.05.2018, 23:19
Аватар для ДИМ&КО
ДИМ&КО ДИМ&КО вне форума  
Форумчанин
 
Регистрация: 07.02.2010
Адрес: МОСКВА
Сообщений: 2,639
Сказал(а) спасибо: 7
Поблагодарили 825 раз(а) в 483 сообщениях
на зените такие были регуляторы
Ответить с цитированием
Этот пользователь сказал Спасибо! ДИМ&КО за это сообщение:
TolyaPol (08.05.2018)
Ответ


Быстрый переход

Похожие темы
Тема Автор Раздел Ответов Последнее сообщение
Павел Буре Lzeppelin Старинные часы и карманные часы 5 11.12.2014 09:00
Павел Буре. Нужен механизм-донор leordn Старинные часы и карманные часы 11 12.08.2014 23:01
Каталог механизмов в часах Павел Буре avers13 Старинные часы и карманные часы 6 26.10.2013 03:17


Часовой пояс UTC +3, время: 17:54.