Часовой форум Watch.ru (http://forum.watch.ru/index.php)
-   Новости (http://forum.watch.ru/forumdisplay.php?f=108)
-   -   История модели Panerai Luminor (http://forum.watch.ru/showthread.php?t=492106)

Ego 13.03.2019 01:28

История модели Panerai Luminor
 
Вложений: 25
1993 год является ключевым в истории Panerai и его самых знаковых часов, Luminor.
В этом году впервые бренд представил общественности модель Luminor и ее вариацию Luminor Marina. До этого часы Panerai были доступны только представителям военных сил.
Вложение 2512017Вложение 2512018
Panerai Luminor, представленные публично в 1993 году

Вдохновленная исторической моделью, Luminor быстро достигла исключительного успеха во всем мире. Основатель Джованни Панераи открыл свою часовую мастерскую во Флоренции в 1860 году, вскоре став официальным дилером некоторых из самых важных швейцарских брендов, включая Rolex, Vacheron Constantin и Patek Philippe.
В начале 20-го века Panerai стал официальным партнером Королевского итальянского флота (Regia Marina на итальянском языке), поставляющего высокоточные инструменты.
Изобретение Radiomir, с использовнаием радиевого порошка, который подсвечивал в темноте циферблаты прицельных приборов и устройств, стало поворотным для Panerai. Патент - первый из долгой серии - был получен во Франции 23 марта 1916 года.
В то время эффект радиационного облучения еще не был изучен, а радий использовался во многих продуктах, включая еду, зубную пасту и косметику.
В 1935 году Королевский итальянский флот обратился к Panerai и другим производителям часов с просьбой о создании часов, устойчивых к экстремальным условиям, и в то же время сохраняющих точное время, удобочитаемых даже под водой. Прототип, представленный Panerai в 1936 году, назывался Radiomir, от названия люминесцентного вещества, используемого для стрелок и индексов. Часы успешно прошли все испытания.
Вложение 2512019
47-миллиметровый корпус в форме подушки с большой завинчивающейся головкой лукообразной формы был изготовлен на эксклюзивной основе Rolex. Свое вдохновение часовщики черпали в дизайне карманных часов Rolex. Для корпусов использовалась нержавеющей стали Staybrite, устойчивая к коррозии. Ушки были приварены к корпусу. Часы комплектовались водонепроницаемым ремешком, который можно было носить поверх водолазного костюма. В часах применялся механизм с ручным заводом от Rolex, Калибр 618.
Вложение 2512020
Rolex Калибр 618

На этом этапе было выпущено всего 10 прототипов, которые тестировали с различными макетами дизайна циферблата, защищенного стеклом Perspex толщиной 4 мм.
Референс 2553 имел продолговатые и точечные индикаторы часа, в то время как референс 3646 характеризовался римскими цифрами в верхней половине циферблата и арабскими – в нижней половине. На разработку такого дизайна вдохновляли некоторые модели Rolex. Сегодня этот тип циферблата часто называют «Калифорния», потому что в 1980-х годах большое количество Rolex Bubbleback были отремонтированы калифорнийской компанией, использующей этот стиль.
Вложение 2512021
Radiomir 2553

Вложение 2512022
Radiomir 3646

Panerai получили заказ от Королевского итальянского флота, и после обширной секретной фазы испытаний первая партия часов (референс 3646) была выпущена в 1938 году.
Разборчивость часов усиливалась особой конструкцией так называемого «сэндвич-циферблата» с двумя перекрывающимися пластинами, нижняя часть которого содержала соединение радия, покрытое тонким прозрачным слоем Perspex, а верхняя часть имела перфорированные индексы и цифры, сквозь которые светилась люминесцентная радиевая краска, добавляя удобочитаемости.
На циферблате были четыре арабские цифры в основных позициях, а между ними часовые индексы в виде точек.
Часы продолжали развиваться, чтобы лучше соответствовать требованиям Королевского флота. В 1940 году припаяные тонкие ушки корпуса были заменены более крупными ушками из того же стального блока, что и корпус для лучшего подводного сопротивления (референс 6152-1).
Вложение 2512023
Radiomir 6152-1 с интегрированными ушками
и циферблатом «сэндвич» - 1940 год


В последующие годы, когда роль Rolex в качестве поставщика подходила к концу, Panerai начали комплектовать свои часы механизмом Angelus 240, обеспечивающим восьмидневный запас хода, что является значительным улучшением по сравнению с 41 часом, предлагаемым Калибром Rolex 618.
Вложение 2512024
Механизм Angelus 240

Таким образом, уменьшение количества раз, когда владелец должен был вытащить заводную головку, чтобы завести часы, с течением времени легче гарантировало водонепроницаемость.
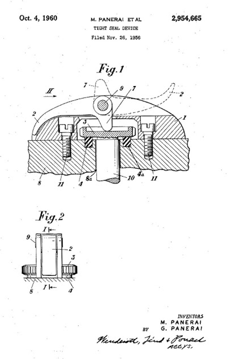
В 1949 году Panerai представили новое люминесцентное вещество под названием Luminor, которое было не только безопаснее, чем Radiomir на основе радия, но и более ярким. Новое соединение на основе трития (изотопа водорода) было запатентовано 11 января 1949 года под торговой маркой Luminor.
Эволюция от Radiomir до Luminor была завершена в пятидесятых годах изобретением устройства для защиты коронки, которое было запатентовано в Италии в 1955 году и почти год спустя в США. Патентная заявка была подана братом и сестрой Джузеппе и Марией Джузеппе Панераи, также внесенными в список изобретателей. Решение обеспечивало водонепроницаемость до 200 метров, что в то время было замечательным результатом.
Вложение 2512025
На циферблатах первых прототипов была надпись «Radiomir». Обозначения «Marina Militare» и «Luminor» начали использоваться после фактического начала производства. Все модели идентифицировались как референс 6152-1 и были укомплектованы либо механизмом Angelus 240, либо Rolex 618.
Вложение 2512026
Референс 6152-1 1955 года с запатентованной системой
защиты коронки, темно-коричневым циферблатом «сэндвич»,
надписью на циферблате Radiomir Panerai


Вложение 2512027
Референс 6152-1 1955 года с черным
циферблатом и надписью 'Marina Militare'


Вложение 2512028
Другая модель 6152-1, выпущенная в 1956 году
с надписью 'Marina Militare' и 'Luminor Panerai',
маленькой секундной стрелкой на 9-ти часах


Кроме итальянского флота, в пятидесятых годах египетский флот разместил заказ на поставки часов Panerai с конкретными вариациями. «Small Egiziano» (реф. 6154), без устройства защиты коронки, была похожа на эталонную модель 6152-1, но более тонкую. Модель «Big Egiziano» 1956 года (реф. GPF 2/56) была радикально модифицированными часами с огромным диаметром 60 мм и новым вращающимся безелем с градуированной шкалой для измерения продолжительности погружения. У обеих моделей на циферблате была надпись Radiomir.
Вложение 2512029
Small Egiziano и Big Egiziano

Поставки итальянскому флоту продолжались, но в ограниченных количествах и под грифом «секретно», что затрудняло точную оценку полных объемов производства. Большинство экспертов сходятся во мнении, что Panerai произвела около 300 единиц часов до 1992 года. Редкость этих часов хорошо объясняет высокую оценку, достигнутую на международных часовых аукционах.
Максимальный рекорд продаж старинных часов Panerai был установлен на аукционе Sotheby's, который состоялся в Женеве 14 мая 2014 года. Исключительно редкий образец Luminor из нержавеющей стали 1955 года был приобретен коллекционером Panerai, который поставил рекордную ставку в 425 000 швейцарских франков. Модель 6152-1, датированная примерно 1955 годом, была укомплектована вращающимся безелем из поликарбоната, прозрачным и с маленькими люминесцентными или черными точечными маркерами. Съемный безель никогда ранее не встречался в серийном производстве, вероятно, это был прототип, который так и не был запущен в производство.
Вложение 2512030
Ультра редкий Panerai Luminor с прозрачным
вращающимся безелем, выпущенный в 1955 году, был продан
на аукционе за рекордные 425 000 швейцарских франков


В 1993 году фирма G.Panerai & Figlio стала называться Officine Panerai. Смена имени произошла в 1972 году, когда инженер Дино Зей возглавил компанию после смерти Джузеппе Панераи.
В сентябре месяце Officine Panerai представили публике коллекцию из трех серий лимитированных часов: Luminor, Luminor Marina и Mare Nostrum, которые были разработаны с непосредственным вдохновением историческими моделями, созданными пятьдесят лет назад.
Вложение 2512031
Итальянская реклама Panerai Luminor,
впервые доступная публике


Черный циферблат новой модели Officine Panerai Luminor 5218-201 / A, изготовленный из латуни, имел четыре арабские цифры на 3, 6, 9, 12 часах и часовые метки, заполненные тритием (структура «сэндвич» будет введена позже). Часовую и минутную стрелки также обрабатывали тритием. На 12-ти часах была подпись «Luminor Panerai». Для защиты циферблата использовалось сапфировое стекло толщиной 3,5 мм.
Вложение 2512032
Опытный образец 5218-201/A, изготовленный в 1993 году
с изображением «несоответствующего циферблата», названного
так, потому что стрелки и цифры имеют разные цвета, так как
циферблаты первоначально обрабатывались лаком, который
воздействовал на тритий, превращая цвет цифр в коричнево-
оранжевый, не соответствующий цвету стрелок


Полированный корпус из нержавеющей стали 316L был меньше чем у оригинальных моделей, но с диаметром 44 мм он был одним из самых крупных для часов, предлагаемых в то время. Корпус дополнялся интегрированными ушками и фирменным защитным устройством, гарантирующим водонепроницаемость до 300 метров. Дизайн корпуса в форме подушки был слегка переработан по сравнению с исторической моделью 6152-1, придавая новой модели собственную индивидуальность.
На задней крышке была выгравирована надпись Officine Panerai Firenze и логотип «OP». Применялся механизм с ручным заводом Unitas 6497, работающий с балансовой частотой 18 000 полуколебаний в час (2,5 Гц) и обеспечивающий запас хода 46 часов.
Часы поставлялись в коробке из красного дерева с серебристой табличкой Panerai спереди, дополнительным ремешком, отверткой и инструментами для снятия/установки ремешка.
Вложение 2512033
После 10 первых прототипов Panerai планировали выпустить 899 образцов модели 5218-201/A, но на самом деле было выпущено только 677 экземпляров. Фактически, оставшиеся 212 единиц будут позже использованы для трех специальных серий, выпущенных совместно со Сильвестром Сталлоне.
Panerai также представили вторую модель Luminor (референс 5218-202/A), посвященную ВМС Италии. Стальной 44-миллиметровый корпус с черным покрытием PVD был укомплектован черным циферблатом с обозначениями Luminor Panerai на 12-ти часах и Marina Militare на 6-ти часах. Часы были выпущены ограниченной серией 150 штук.
В 1995 году счастливое событие определит главный поворотный момент для всемирного успеха часов Panerai. Находясь в Италии, популярный актер Сильвестр Сталлоне заметил часы Panerai в продаже и настолько полюбил их, что попросил у Officine Panerai специальное издание, которое будет использоваться во время съемок подводных сцен в фильме «Дневной свет».
Officine Panerai выпустили Luminor Submersible с черным циферблатом с маленькой секундной стрелкой на 9-ти часах и двумя обозначениями: Luminor Submersible на 12-ти часах и Slytech Panerai на 6-ти часах (Sly - это прозвище Сильвестра Сталлоне). Часы были выпущены серией 12 прототипов (референс 5218-201/A) и 95 обычных образцов (референс 5218-205/A).
Вложение 2512034
Officine Panerai Luminor
Submersible Slytech 5218-205/A


Позже Сталлоне запросил новое издание Luminor Submersible с белым циферблатом под названием Daylight, выпущенное в 105 экземплярах (референс 5218-207/A).
Вложение 2512035
Officine Panerai Luminor Daylight 5218-207/A

На этих часах выгравирована подпись актера. Кроме использования Officine Panerai Luminor в фильме «Дневной свет» Сильвестр Сталлоне также подарил своим друзьям несколько экземпляров часов.
Вложение 2512036
Среди друзей был Арнольд Шварценеггер, который также стал фанатом Panerai и носил Luminor Marina в фильме «Стиратель».
Эти обстоятельства способствовали созданию огромной шумихи вокруг Panerai и привлекли внимание Vendôme Luxury Group (сегодня Richemont Group), которая в 1997 году завершила сделку по приобретению часового бизнеса Officine Panerai. Часы, выпущенные в период с 1993 по 1997 год, обычно называют моделями Pre-Vendome.
В следующем году марка дебютировала на международном рынке часового искусства, расширив коллекцию различными вариациями Luminor и Luminor Marina, а также новой версией Mare Nostrum, обозначенной новой каталожной нумерацией PAM (PAnerai Models).
Модели Luminor Base имели диаметр 44 мм и механизм с ручным заводом OP I с функциями часов и минут. Калибр был создан на основе ETA 6497, его балансовая частота составляла 21 600 полуколебаний в час, запас хода - 56 часов.
Модели Luminor Marina имели диаметр 44 мм и были оснащены механизмом с ручным заводом OP II - с часами, минутами и малой секундной стрелкой на 9-ти часах - на основе Калибра ETA 6497/2. Балансовая частота составляла 21 600 пк/ч, запас хода - 41 час.
В последующие годы мануфактура Officine Panerai продолжала расширять семью Luminor и достигла феноменального успеха на мировом уровне, который часто описывали термином «Paneraimania».
В 2002 году выпущены модели Luminor 1950, чей корпус был позаимствован у модели, созданной Panerai в 1950 году, отсюда и название.
Выпущенный ограниченной серией 1950 экземпляров, Luminor 1950 PAM 127 имел корпус из полированной и матовой нержавеющей стали диаметром 47 мм, обрамляющий черный «сэндвич» циферблат. Задняя часть корпуса демонстрировала сертифицированный COSC Калибр OP XI на базе ETA 6497/2.
Вложение 2512037
Luminor 1950 47 mm PAM 127

Корпус Luminor 1950 очень похож на стандартный Luminor, если смотреть спереди, но со стороны легко заметить различия. Сапфировое стекло слегка выпуклое, чтобы усилить винтажный вид, а рычаг устройства защиты коронки немного толще, чем тот, который используется в стандартном Luminor.
Вложение 2512038
Корпус Luminor (сверху) и
Luminor 1950 (снизу)


Сегодня используются оба вида корпуса. Стандартный корпус Luminor обычно доступен в версиях 40 и 44 мм, в то время как Luminor 1950 в настоящее время предлагается в трех размерах: 42, 44 и 47 мм.
В 2005 году Officine Panerai представила свой первый мануфактурный механизм, Калибр P.2002 (от года, когда Officine Panerai открыла свой завод в Невшателе). 8-дневный запас хода был данью историческому механизму, применяемому Panerai в 1940-х годах. На сегодняшний день Officine Panerai разработали как минимум 25 собственных механизмов с ручным или автоматическим заводом.
Модель Panerai 1950 47 мм PAM 372 с мануфактурным механизмом P.3000 и матовым черным циферблатом с «сэндвич» конструкцией является одной из наиболее ценимых моделей среди поклонников Panerai за ее чистый дизайн и за особую преданность в отношении размеров, дизайн корпуса и циферблата исторической модели Luminor.
Вложение 2512039Вложение 2512040Вложение 2512041
Luminor 1950 47 mm PAM 372

Без сомнения, одни из самых узнаваемых и ценимых спортивных часов с выверенным дизайном и увлекательной историей, Luminor были успешно разработаны Officine Panerai в полном диапазоне моделей с расширенными функциями: от GMT до полного ассортимента хронографов, от моделей с 8-дневным запасом хода до высокоточных турбийонов.

Источник: https://luxwatch.ua/watch-news/view/4466


Часовой пояс UTC +3, время: 18:24.

© 1998–2024 Watch.ru